lemon-mirror:
Home >> Acura >> 2011 >> TL Base >> Repair and Diagnosis >> Body & Frame >> Windows >> Power Window System >> Rear Power Window Switch Replacement

Rear Power Window Switch Replacement

  1. Remove the rear door armrest (see step 12 on REAR DOOR PANEL REMOVAL/INSTALLATION )
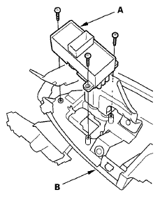
  2. Remove the three screws and rear power window switch (A) from the armrest assembly (B)
    Fig 1: Identifying Rear Power Window Switch And Screws
    G05989025Courtesy of AMERICAN HONDA MOTOR CO., INC.
  3. Install the switch in the reverse order of removal