lemon-mirror:
Home >> Acura >> 2011 >> TL Base >> Repair and Diagnosis >> Body & Frame >> Windows >> Windows And Glass >> Rear Window Replacement

Rear Window Replacement

NOTE:
  • Put on gloves to protect your hands
  • Wear eye protection while cutting the glass adhesive with a piano wire
  • Use seat covers to avoid damaging any surfaces
  • Do not damage the rear window defogger grid lines, the window antenna grid lines, or the terminals
  1. Remove these items
  2. Disconnect the window antenna connectors (A) and the rear window defogger connectors (B)
    Fig 1: Disconnecting Window Antenna Connectors And Rear Window Defogger Connectors
    G05988183Courtesy of AMERICAN HONDA MOTOR CO., INC.
  3. If the old rear window will be reinstalled, make alignment marks across the rear window and the body with a grease pencil.
  4. Pull down the rear portion of the headliner (A) by detaching the clips Take care not to bend the headliner excessively, or you may crease or break it
    Fig 2: Pulling Down Rear Portion Of Headliner
    G05988184Courtesy of AMERICAN HONDA MOTOR CO., INC.
  5. Apply protective tape along the inside and outside edges of the body Make a hole with an awl through the adhesive from inside the vehicle at a corner of the rear window Push a piece of piano wire through the hole, and wrap each end around a piece of wood
  6. Remove the lower rubber dam (A) from the lower edge of the rear window (B) If necessary, cut the rubber dam with a utility knife
    Fig 3: Identifying Lower Edge Of Rear Window
    G05988185Courtesy of AMERICAN HONDA MOTOR CO., INC.
  7. With a helper on the outside, pull the piano wire (A) back and forth in a sawing motion Hold the piano wire as close to the rear window (B) as possible to prevent damage to the body, and carefully cut through the adhesive (C) around the entire rear window
    Fig 4: Cutting Adhesive Around Entire Rear Window
    G05988186Courtesy of AMERICAN HONDA MOTOR CO., INC.
  8. Carefully remove the rear window
  9. Scrape smooth the old adhesive, using a putty knife or similar tool, until there is a thickness of about 2 mm (0 08 in) on the bonding surface around the entire rear window opening flange
    • Do not scrape down to the painted surface of the body, damaged paint will interfere with proper bonding
    • Remove the fasteners from the body
  10. Clean the body bonding surface with a shop towel dampened in isopropyl alcohol After cleaning, keep oil, grease, and water from getting on the surface
  11. If you are reinstalling the old windshield, use a putty knife to scrape off all of the old adhesive, the fasteners, and the rubber dams from the rear window Clean the bonding surfaces on inside face and the edge of the rear window with isopropyl alcohol Make sure the bonding surface is kept free of water, oil, and grease
  12. Apply primer to the edge of the rear window (A) where the lower rubber dam will be attached as shown Attach the lower rubber dam (B) with adhesive tape (C) to the lower edge of the rear window
    • After installing the rubber dam, cut the ends (D) of the rubber dam as shown
    • Be careful not to touch the windshield where the adhesive will be applied
    • Fig 5: Identifying Primer Applying Area On Edge Of Rear Window
      G05988187Courtesy of AMERICAN HONDA MOTOR CO., INC.
  13. Apply primer to the upper clip mounting areas on the windshield, and let it dry Attach the upper rubber dam (A), the side rubber dams (B), the upper clips (C), and the fasteners (D) with the adhesive tape to the inside face of the rear window (E) as shown
    • Be sure the upper rubber dam, the side rubber dams, the upper clips, and the fasteners line up with the alignment marks (F) If necessary, cut the excess rubber dams
    • Be sure the index tabs (G) on the clips face the right side
    • Be careful not to touch the rear window where the adhesive will be applied
    • Fig 6: Identifying Primer Applying Area On Windshield
      G05988188Courtesy of AMERICAN HONDA MOTOR CO., INC.
  14. Attach the fasteners with adhesive tape to the rear window opening flange (A) of the body on both sides
    Fig 7: Identifying Rear Window Opening Flange
    G05988189Courtesy of AMERICAN HONDA MOTOR CO., INC.
  15. Set the rear window in the opening, and center it Make alignment marks (A) across the rear window and the body with a grease pencil at the four points shown Make sure the pins (B) of both upper clips (C) contact with the edge of the body holes Be careful not to touch the rear window where the adhesive will be applied
    Fig 8: Identifying Alignment Marks On Rear Window And Body
    G05988190Courtesy of AMERICAN HONDA MOTOR CO., INC.
  16. Remove the rear window
  17. Apply a light coat of glass primer to the rear window (A) along the edge of the rubber dams (B) as shown, then lightly wipe it off with gauze or cheesecloth
    • Apply the glass primer to the corner portions of the rear window using the printed dots (C) on the rear window as a guide
    • Do not apply body primer to the rear window, and do not mix up the body and glass primer applicators
    • Never touch the primed surfaces with your hands If you do, the adhesive may not bond to the rear window properly, causing a leak after the rear window is installed
    • Keep water, dust, and abrasive materials away from the primed surfaces
    Fig 9: Identifying Glass Primer Applying On Corner Portions Of Rear Window
    G05988191Courtesy of AMERICAN HONDA MOTOR CO., INC.
  18. Carefully apply a light coat of body primer to any exposed paint or metal around the flange where the new adhesive will be applied Let the primer dry for at least 10 minutes
    • Do not apply body primer to any remaining original adhesive on the flange
    • Be careful not to mix up the body and the glass primer applicators
    • Never touch the primed surfaces with your hands
    Fig 10: Identifying Body Primer Applying On Exposed Paint Or Metal Around Flange
    G05988192Courtesy of AMERICAN HONDA MOTOR CO., INC.
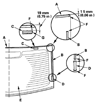
  19. Cut a "V" in the end of the nozzle (A) on the adhesive cartridge as shown
    Fig 11: Identifying Nozzle Cutting Dimensions
    G05988193Courtesy of AMERICAN HONDA MOTOR CO., INC.
  20. Put the cartridge in a caulking gun, and run a continuous bead of adhesive (A) to the rear window (B) along the edge of the rubber dams (C) as shown
    • Use the printed dots (D) as a guide when you apply the adhesive to the corners of the rear window
    • Apply the adhesive within 30 minutes after applying the glass primer Make a slightly thicker bead at each corner
    Fig 12: Identifying Glass Primer Applying Area
    G05988194Courtesy of AMERICAN HONDA MOTOR CO., INC.
  21. Use suction cups to hold the rear window over the opening, align it with the alignment marks you made in step  15, and set it down on the adhesive Lightly push on the rear window until its edges are fully seated on the adhesive all the way around
    NOTE: Do not open or close any of the doors for about an hour until the adhesive is dry
  22. Remove the excess adhesive with a putty knife or a shop towel dampened with isopropyl alcohol
  23. Wait at least one hour for the adhesive to dry, then spray water over the rear window and check for leaks Mark the leaking areas, let the rear window dry, then seal with sealant Let the vehicle stand for at least 4 hours after rear window installation If the vehicle has to be used within the first 4 hours, it must be driven slowly
  24. Reinstall all remaining removed parts
    NOTE: Advise the client not to do the following things for 2 to 3 days
    • Slam the doors with all the windows rolled up
    • Twist the body excessively (such as when going in and out of driveways at an angle or driving over rough, uneven roads)