lemon-mirror:
Home >> Acura >> 2011 >> TL Base >> Repair and Diagnosis >> Electrical >> Body Electrical >> Accessory Power Sockets >> Front Accessory Power Socket Test/Replacement

Front Accessory Power Socket Test/Replacement

NOTE: If all of the front and console accessory power sockets do not work, check the No 18 (7 5 A) fuse in the driver's under-dash fuse/relay box and ground (G403) first
  1. Remove the passenger's center trim (see CENTER TRIM REMOVAL/INSTALLATION )
  2. Disconnect the 2P connector (A) from the front accessory power socket (B)
    Fig 1: Identifying Front Accessory Power Socket And 2P Connector Terminals
    G05989104Courtesy of AMERICAN HONDA MOTOR CO., INC.
  3. Inspect the connector terminals to be sure they are all making good contact
    • If the terminals are bent, loose, or corroded, repair them as necessary and recheck the system
    • If the terminals look OK, go to step 4
  4. Turn the ignition switch to ACC (I), or press the engine start/stop button to select the ACC mode
    • With keyless access system, go to step
    • Without keyless access system, go to step  6
  5. Measure the voltage between front accessory power socket relay terminal No. 3 and body ground. There should be less than 0.2V
    • If there is less than 0.2V, go to step  7
    • If there is more than 0.2V, check for:
      • An open or high resistance in the wire between front accessory power socket relay terminal No. 3 and ground (G601)
      • Poor ground (G601) or an open in the ground wire
  6. Measure the voltage between driver's under-dash fuse/relay box connector D (16P) terminal No. 14 and body ground. There should be less than 0.2V
    • If there is less than 0.2V, go to step  7
    • If there is more than 0.2V, check for:
      • An open or high resistance in the wire between driver's under-dash fuse/relay box connector D (16P) terminal No. 14 and ground (G601)
      • Poor ground (G601) or an open in the ground wire
  7. Measure the voltage between front accessory power socket 2P connector terminal No 1 and body ground There should be battery voltage
    • If there is battery voltage, go to step 8
    • If there is no battery voltage, check for:
    • Blown No 23 (15 A) fuse in the driver's under-dash fuse/relay box
    • Faulty front accessory power socket relay
    • Faulty driver's under-dash fuse/relay box
    • Open in the wire between the front accessory power socket relay terminal No 1 and driver's under-dash fuse/relay box connector P (20P) terminal No. 1
  8. Check for continuity between front accessory power socket 2P connector terminal No 2 and body ground There should be continuity
    • If there is continuity, replace the power socket, go to step 9
    • If there is no continuity, check for:
    • Poor ground (G 403)
    • Open or high resistance in the wire between front accessory power socket 2P connector terminal No 2 and the ground (G403)
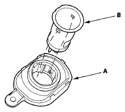
  9. Remove the screw and socket base (A), then remove the socket (B)
    Fig 2: Identifying Socket Base And Socket
    G05989105Courtesy of AMERICAN HONDA MOTOR CO., INC.
  10. Remove the housing (A) from the socket base (B)
    Fig 3: Identifying Housing And Socket Base
    G05989106Courtesy of AMERICAN HONDA MOTOR CO., INC.
  11. Install the power socket in the reverse order of removal