lemon-mirror:
Home >> Acura >> 2011 >> TL Base >> Repair and Diagnosis >> Transmission >> Automatic Trans >> Automatic Transmission >> ATF Cooler Replacement

ATF Cooler Replacement

  1. Raise the vehicle on a lift, or apply parking brake, block both rear wheels, and raise the front of the vehicle Make sure it is securely supported
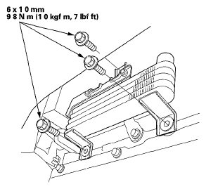
  2. Remove the ATF cooler assembly
    Fig 1: ATF Cooler Assembly And Bolts With Torque Specification
    G05990906Courtesy of AMERICAN HONDA MOTOR CO., INC.
  3. Disconnect the ATF cooler hoses (A) from the ATF cooler lines (B), then plug the hoses Replace the ATF cooler
    Fig 2: Identifying ATF Cooler Hoses From ATF Cooler Lines
    G05990907Courtesy of AMERICAN HONDA MOTOR CO., INC.
  4. If needed, replace the ATF cooler rubber mounts (A) and the collars (B)
    Fig 3: Identifying ATF Cooler Rubber Mounts And Collars
    G05990908Courtesy of AMERICAN HONDA MOTOR CO., INC.
  5. Install the ATF cooler, then remove the plugs from the hose
  6. Connect the ATF cooler hoses (see ATF COOLER HOSE REPLACEMENT )
  7. Secure the ATF cooler with the bolts
  8. Check the ATF level (see ATF LEVEL CHECK )