lemon-mirror:
Home >> Acura >> 2011 >> TL Base >> Repair and Diagnosis >> Transmission >> Automatic Trans >> Automatic Transmission >> Transmission Removal

Transmission Removal

Special Tools Required 

These special tools are available through the Acura

Tool and Equipment Program 888-424-6857

NOTE:
  • Use fender covers to avoid damaging painted surfaces
  • Special tool Reds engine support hanger AAR-T1256 must be used with the side engine mount installed
  1. Remove the engine compartment covers (see ENGINE COMPARTMENT COVER REPLACEMENT )
  2. Remove the steering wheel (see STEERING WHEEL REMOVAL ).
  3. Disconnect the steering joint from the steering gearbox pinion shaft (see step 6 on STEERING COLUMN REMOVAL AND INSTALLATION )
  4. Disconnect the support strut from the pivot ball on both sides (bolted to the hood) Raise and secure the hood in a vertical position Remove the passenger's side pivot ball and install it into the lower threaded hole, then reattach the support strut
    NOTE: Do not attempt to close the hood with the support strut in the vertical position, it will damage the support strut and the hood
    Fig 1: Identifying Support Strut
    G05990815Courtesy of AMERICAN HONDA MOTOR CO., INC.
  5. Do the battery removal procedure (see BATTERY REMOVAL AND INSTALLATION )
  6. Remove the air cleaner assembly (see THROTTLE BODY CLEANING )
  7. Remove the four mounting bolts (A), and loosen the mounting bolt (B), then remove the harness clamp (C) and the battery base (D)
    Fig 2: Identifying Harness Clamp And Battery Base
    G05990816Courtesy of AMERICAN HONDA MOTOR CO., INC.
  8. Raise the vehicle on a lift, and make sure it is supported securely
  9. Remove the wheels
  10. Remove the splash shield
  11. Remove the drain plug (A), and drain the automatic transmission fluid (ATF)
    Fig 3: Drain Plug With Torque Specification
    G05990817Courtesy of AMERICAN HONDA MOTOR CO., INC.
  12. Reinstall the drain plug with a new sealing washer (B)
  13. Remove the bolts (A) and nuts (B) securing the strut brace (C)
    Fig 4: Identifying Strut Brace With Bolts And Nuts
    G05990818Courtesy of AMERICAN HONDA MOTOR CO., INC.
  14. Remove the brake booster vacuum hose (D), then remove the strut brace.
  15. Remove the positive starter cable (A) and the S terminal connector (B) from the starter
    Fig 5: Identifying Positive Starter Cable And S Connector Terminal From Starter
    G05990819Courtesy of AMERICAN HONDA MOTOR CO., INC.
  16. Remove the harness clamp (C) from the harness clamp bracket (D), and remove the clamp bracket
  17. Remove the transmission ground terminal (E)
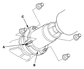
  18. Remove the starter (A) with the harness clamp bracket (B) and the gasket (C) from the transmission
    Fig 6: Identifying Starter With Harness Clamp Bracket And Gasket From Transmission
    G05990820Courtesy of AMERICAN HONDA MOTOR CO., INC.
  19. Remove the spring clip (A) and the control pin (B), then separate the shift cable end (C) from the selector control lever (D).
    Fig 7: Shift Cable Bracket And Bushing With Torque Specifications
    G05990756Courtesy of AMERICAN HONDA MOTOR CO., INC.
  20. Remove the nuts securing the shift cable bracket (E).
  21. Check the bushing (F) in the shift cable end for proper fit and wear If the bushing is loose or worn, replace the shift cable (see SHIFT CABLE REPLACEMENT )
  22. Disconnect these connectors
    • A/T clutch pressure control solenoid valve A connector (A)
    • A/T clutch pressure control solenoid valve B connector (B)
    • 4th clutch transmission fluid pressure switch connector (C)
    • shift solenoid wire harness connector (D)
    • Fig 8: Identifying Connectors
      G05990822Courtesy of AMERICAN HONDA MOTOR CO., INC.
  23. Remove the bolt securing the harness cover (E), and remove the harness cover from its bracket (F)
  24. Disconnect these connectors
    • Transmission range switch connector (A)
    • Input shaft (mainshaft) speed sensor connector (B)
    • Fig 9: Identifying Transmission Range Switch Connector
      G05990823Courtesy of AMERICAN HONDA MOTOR CO., INC.
  25. Remove the harness clamp (A) from its bracket
    Fig 10: Identifying Harness Clamp From Bracket
    G05990824Courtesy of AMERICAN HONDA MOTOR CO., INC.
  26. Disconnect these connectors
    • Output shaft (countershaft) speed sensor connector (B)
    • 3rd clutch transmission fluid pressure switch connector (C)
    • ATF temperature sensor connector (D)
  27. Remove the harness clamp (A) from its bracket (B)
    Fig 11: Identifying Harness Clamp From Bracket And Bolt
    G05990825Courtesy of AMERICAN HONDA MOTOR CO., INC.
  28. Disconnect the A/T clutch pressure control solenoid valve C connector (C)
  29. Remove the harness cover mounting bolt (D), and remove the harness cover (E) from its bracket (F)
  30. Remove the bolt securing the harness clamp bracket
    Fig 12: Identifying Harness Clamp Bracket Bolt
    G05990826Courtesy of AMERICAN HONDA MOTOR CO., INC.
  31. Disconnect the transmission fluid pressure switch A (2nd clutch) connector.
    Fig 13: Identifying 2nd Clutch Transmission Fluid Pressure Switch Connector
    G05990827Courtesy of AMERICAN HONDA MOTOR CO., INC.
  32. Remove the ATF cooler hoses (A) from the ATF cooler lines (B) Turn the ends of the cooler hoses up to prevent ATF from flowing out, then plug the cooler hoses and lines
    Fig 14: Identifying ATF Cooler Hoses From ATF Cooler Lines
    G05990828Courtesy of AMERICAN HONDA MOTOR CO., INC.
  33. Check for any signs of leakage at the hose joints
  34. Remove the bolts (A) securing the ATF cooler line bracket(B)
    Fig 15: Identifying ATF Cooler Line Bracket And Bolts
    G05990829Courtesy of AMERICAN HONDA MOTOR CO., INC.
  35. Remove the connector bracket from the front cylinder head, use the bracket bolt hole to attach the engine hanger balance bar front arm
    Fig 16: Identifying Front Cylinder Head And Bracket Bolt Hole
    G05990830Courtesy of AMERICAN HONDA MOTOR CO., INC.
  36. Remove the harness clamp bracket from the rear cylinder head, use the bracket bolt hole to attach the 2008 V6 attachment arm
    Fig 17: Identifying Rear Cylinder Head And Bracket Bolt Hole
    G05990831Courtesy of AMERICAN HONDA MOTOR CO., INC.
  37. Install the engine hanger balance bar (VSB02C000019) Attach the front arm (A) to the front cylinder head with a spacer (B) and the bolt (10 x 1 25 mm) (C) Attach the 2008 V6 attachment arm (SIL02C000033) to the rear cylinder head and the bolt (8 x 1 25 mm) (D), then attach the 2008 V6 attachment arm to the engine hanger balance bar
    NOTE:
    • Be careful when working around the windshield
    • Be careful not to damage the hood opener cable when installing the engine support hanger at the front bulkhead
    • Fig 18: Identifying Front Cylinder Head With Spacer And Bolt
      G05990832Courtesy of AMERICAN HONDA MOTOR CO., INC.
  38. Install the engine support hanger (AAR-T1256) to the vehicle, and attach the hook to the engine balancer bar slot Tighten the wing nut (E) by hand, and lift and support the engine
    NOTE: Be careful when working around the windshield, Be careful not to damage the hood opener cable when installing the engine support hanger at the front bulkhead.
  39. Remove the vacuum hose (A) from the vacuum pipe (B), and remove the vacuum pipe from its clamp (C)
    Fig 19: Identifying Vacuum Hose From Vacuum Pipe
    G05990833Courtesy of AMERICAN HONDA MOTOR CO., INC.
  40. Remove the front engine mount stop (D) and the clamp bracket (E), and remove the front engine mount bolt (F)
  41. Remove the upper transmission mount bracket bolts (A) and the nut (B)
    NOTE: Do not remove the bolt (C) from the upper transmission mount If the bolt is removed, the upper transmission mount must be replaced as an assembly
    Fig 20: Identifying Upper Transmission Mount Bracket Bolts And Nut
    G05990834Courtesy of AMERICAN HONDA MOTOR CO., INC.
  42. Remove the rear engine mount stop (A) and the heat shield (B), and remove the rear engine mount bolt (C)
    Fig 21: Identifying Rear Engine Mount Stop And Heat Shield
    G05990835Courtesy of AMERICAN HONDA MOTOR CO., INC.
  43. Remove the vacuum hose (A) from the clamp, and remove the vacuum hose from the joint
    Fig 22: Identifying Vacuum Hose From Clamp
    G05990836Courtesy of AMERICAN HONDA MOTOR CO., INC.
  44. Remove the front subframe stiffener
  45. Fig 23: Identifying Front Subframe Stiffener
    G05990837Courtesy of AMERICAN HONDA MOTOR CO., INC.
  46. Remove exhaust pipe A
    Fig 24: Identifying Exhaust Pipe A
    G05990838Courtesy of AMERICAN HONDA MOTOR CO., INC.
  47. Remove the damper pinch bolts (A), the damper fork bolts (B) and the self-locking nuts (C), and remove the damper forks (D)
    Fig 25: Identifying Damper Pinch Bolts And Self-Locking Nuts
    G05990839Courtesy of AMERICAN HONDA MOTOR CO., INC.
  48. Remove the cotter pins (E) and the castle nuts (F), and separate the lower arms (G) from the knuckle (see step 7 on REMOVAL/INSTALLATION )
  49. With SH-AWD Make a reference mark (A) across the No 1 propeller shaft (B) and the transfer companion flange (C), and separate the No 1 propeller shaft from the transfer companion flange
    Fig 26: Identifying Propeller Shaft And Transfer Companion Flange With SH-AWD Reference Mark
    G05990840Courtesy of AMERICAN HONDA MOTOR CO., INC.
  50. With SH-AWD Remove the bolt securing the transfer breather tube bracket (A), and disconnect the breather tube (B) from the breather pipe (C) on the transfer assembly
    Fig 27: Identifying Breather Tube From Breather Pipe On Transfer Assembly
    G05990841Courtesy of AMERICAN HONDA MOTOR CO., INC.
  51. With SH-AWD Remove the transfer assembly (A) and dowel pin (B) from the transmission
    Fig 28: Identifying Transfer Assembly And Dowel Pin From Transmission
    G05990842Courtesy of AMERICAN HONDA MOTOR CO., INC.
  52. Remove the torque converter cover (A), and remove the drive plate bolts (B) (8) while rotating the crankshaft pulley
    Fig 29: Identifying Torque Converter Cover And Drive Plate Bolts
    G05990843Courtesy of AMERICAN HONDA MOTOR CO., INC.
  53. Remove the transmission lower mount nuts
    Fig 30: Identifying Transmission Lower Mount Nuts
    G05990844Courtesy of AMERICAN HONDA MOTOR CO., INC.
  54. Loosen both front subframe middle mount bolts
    Fig 31: Identifying Both Front Subframe Middle Mount Bolts
    G05990845Courtesy of AMERICAN HONDA MOTOR CO., INC.
  55. Attach the front subframe adapter (VSB02C000016) to the front subframe by looping the strap (A) over the front of the front subframe, then secure the strap with the stop (B), then tighten the wing nut (C)
    Fig 32: Identifying Front Subframe Adapter And Wing Nut
    G05990846Courtesy of AMERICAN HONDA MOTOR CO., INC.
  56. Raise the jack and line up the slots in the arms with the bolt holes on the corner of the jack base, then tighten the bolts
  57. Remove the four bolts securing the stiffeners (A) and the four bolts securing the front subframe (B), then lower the front subframe
    Fig 33: Identifying Front Subframe And Bolts
    G05990847Courtesy of AMERICAN HONDA MOTOR CO., INC.
  58. Remove the left side driveshaft from the differential and the right side driveshaft from the intermediate shaft Coat all precision machined surfaces with clean engine oil, then put plastic bags over the driveshaft ends Secure the driveshafts to the body with a strap
    Fig 34: Identifying Left Side Driveshaft From Differential
    G05990848Courtesy of AMERICAN HONDA MOTOR CO., INC.
  59. Remove the crankshaft position (CKP) sensor cover (A), and disconnect the CKP sensor connector (B)
    Fig 35: Identifying Crankshaft Position (CKP) Sensor Cover
    G05990849Courtesy of AMERICAN HONDA MOTOR CO., INC.
  60. Remove the bolt securing the sensor harness clamp bracket (C)
  61. Remove the rear warm up three way catalytic converter (WU-TWC) bracket (A), and remove the intermediate shaft (B)
    NOTE: Plug the intermediate shaft hole (C) to prevent dirt and solvent from entering the transmission
    Fig 36: Identifying Rear Warm Up Catalytic Converter (WU-TWC) Bracket And Intermediate Shaft
    G05990850Courtesy of AMERICAN HONDA MOTOR CO., INC.
  62. Coat all precision finished surfaces with clean engine oil, then put plastic bags over intermediate shaft ends
  63. Remove the upper transmission housing mounting bolts
    Fig 37: Identifying Upper Transmission Housing Mounting Bolts
    G05990851Courtesy of AMERICAN HONDA MOTOR CO., INC.
  64. Remove the front engine mount bracket
    Fig 38: Identifying Front Engine Mount Bracket
    G05990852Courtesy of AMERICAN HONDA MOTOR CO., INC.
  65. Remove the front transmission housing mounting bolts
    Fig 39: Identifying Front Transmission Housing Mounting Bolts
    G05990853Courtesy of AMERICAN HONDA MOTOR CO., INC.
  66. Remove the rear transmission housing mounting bolts
    NOTE: Be careful not to damage the CKP sensor
    Fig 40: Identifying Rear Transmission Housing Mounting Bolts
    G05990854Courtesy of AMERICAN HONDA MOTOR CO., INC.
  67. Lower the transmission by loosening the wing nut on the engine support hanger, and tilt the engine just enough for the end of the transmission to clear the side frame
  68. Place a jack under the transmission
  69. Remove the lower transmission housing mounting bolts
    Fig 41: Identifying Lower Transmission Housing Mounting Bolts
    G05990855Courtesy of AMERICAN HONDA MOTOR CO., INC.
  70. Check once again that the transmission is free of vacuum hoses, ATF and coolant hoses, and electrical wiring
  71. Slide the transmission away from the engine to remove it from the vehicle
  72. Remove the torque converter, the O-ring, and the dowel pins
    Fig 42: Identifying Torque Converter, O-Ring And Dowel Pins
    G05990856Courtesy of AMERICAN HONDA MOTOR CO., INC.
  73. Inspect the drive plate, and replace it if it is damaged (see DRIVE PLATE REMOVAL AND INSTALLATION )