lemon-mirror:
Home >> Acura >> 2012 >> MDX >> Repair and Diagnosis >> Accessories & Equipment >> Communication Devices >> Multiplex Integrated Control System >> System Description >> Gateway Function

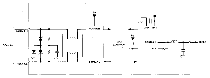
Gateway Function

The gauge control module acts as a gateway to allow both systems to share information. The gauge control module translates and relays the information from B-CAN to F-CAN A, and from F-CAN A to B-CAN.

Fig 1: Gateway Function Diagram
G08055177Courtesy of AMERICAN HONDA MOTOR CO., INC.