lemon-mirror:
Home >> Acura >> 2012 >> MDX >> Repair and Diagnosis >> Brakes >> Traction Control >> VSA System Components >> System Description >> ABS (Anti-lock Brake System) Features >> Main Control

Main Control

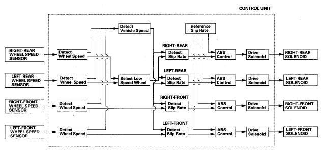
The control unit detects the wheel speed based on the wheel speed sensor signals it receives, then it calculates the vehicle speed based on the detected wheel speed. The control unit detects the vehicle speed during deceleration based on the wheel speeds.

The control unit calculates the slip rate of each wheel, and transmits the control signal to the modulator unit solenoid valve when the slip rate is high.

The hydraulic control has three modes: Pressure intensifying, pressure reducing, and pressure retaining.

Fig 1: Main Control Communication Diagram
G08053107Courtesy of AMERICAN HONDA MOTOR CO., INC.