lemon-mirror:
Home >> Acura >> 2012 >> MDX >> Repair and Diagnosis >> Electrical >> Body Electrical >> Fuse/Relay Boxes >> Connector to Fuse/Relay Box Index

Connector to Fuse/Relay Box Index

Under-Hood Fuse/Relay Box 

Fig 1: Locating Fog Light Relay And Interior Light Relay In Under-Hood Fuse/Relay Box (Auxiliary Under-Hood Relay Block Part)
G08053748Courtesy of AMERICAN HONDA MOTOR CO., INC.
UNDER-HOOD FUSE/RELAY BOX (AUXILIARY UNDER-HOOD RELAY BLOCK PART)

Socket Ref Terminals Connects to
Fog light relay 1 4 Right engine compartment wire harness
Interior light relay 2 4 Right engine compartment wire harness
Fig 2: Locating Relay In Under-Hood Fuse/Relay Box (Relay Control Module Part)
G08053749Courtesy of AMERICAN HONDA MOTOR CO., INC.
UNDER-HOOD FUSE/RELAY BOX (RELAY CONTROL MODULE PART)

Socket Ref Terminals Connects to
A 5 4 Right engine compartment wire harness
B 2 5 Right engine compartment wire harness
C 3 2 Right engine compartment wire harness
D 8 10 Right engine compartment wire harness
E 7 14 Right engine compartment wire harness
F 6 1 Right engine compartment wire harness
G 1 4 Right engine compartment wire harness
H 4 9 Right engine compartment wire harness
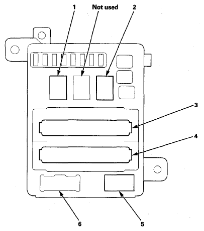
Fig 3: Locating Relay In Under-Hood Fuse/Relay Box (Relay Block Part)
G08053750Courtesy of AMERICAN HONDA MOTOR CO., INC.
UNDER-HOOD FUSE/RELAY BOX (RELAY BLOCK PART)

Socket Ref Terminals Connects to
A 9 1 Right engine compartment wire harness
A/C compressor clutch relay 2 4  
A/C condenser fan relay 3 4  
B 8 1 Right engine compartment wire harness
C 5 1 Right engine compartment wire harness
A/C diode A 11 ---  
A/C diode B 10 ---  
Fan control relay 1 5  
Front blower motor relay 7 4  
Headlight low beam relay 6 4  
Radiator fan relay 4 4  
Fig 4: Locating Relay In Auxiliary Under-Hood Fuse/Relay Box
G08053751Courtesy of AMERICAN HONDA MOTOR CO., INC.
AUXILIARY UNDER-HOOD FUSE/RELAY BOX

Socket Ref Terminals Connects to
Brake light relay (1) 1 5 Right engine compartment wire harness
TECH relay 2 4 Right engine compartment wire harness
(1) With ACC

Under-Dash Fuse/Relay Box 

Fig 5: Locating Relay In Under-Dash Fuse/Relay Box
G08053752Courtesy of AMERICAN HONDA MOTOR CO., INC.
UNDER-DASH FUSE/RELAY BOX

Socket Ref Terminals Connects to
A 6 6 Dashboard wire harness
Accessory power socket relay 8 4  
B 19 6 Left engine compartment wire harness
C 18 12 Left engine compartment wire harness
D 20 17 Left engine compartment wire harness
E 25 16 Floor wire harness
F 26 14 Floor wire harness
Front seat heater relay 9 4  
G 21 6 Floor wire harness
H 24 14 Floor wire harness
J 16 21 Driver's door subharness
K 15 12 Driver's door subharness
M (MICU service check connector) 14 3  
N 2 45 Dashboard wire harness
P 23 30 Dashboard wire harness
PGM-FI main relay 2 (FUEL PUMP) 13 4  
Power window relay 11 4  
Q 22 14 Floor wire harness
R 3 --- Not used
S (for SRS) 5 2 Dashboard wire harness
Short pin (for fuel pump) 10 ---  
Short pin (for lumbar support) 12 ---  
T 7 6 Not used
Turn signal/hazard relay 4 6  
W 17 5 Left engine compartment wire harness
X 1 39 Dashboard wire harness

Rear Fuse/Relay Box 

Fig 6: Locating Relay In Rear Fuse/Relay Box
G08053753Courtesy of AMERICAN HONDA MOTOR CO., INC.
REAR FUSE/RELAY BOX

Socket Ref Terminals Connects to
A 5 2 Floor wire harness
B 4 34 Floor wire harness
C 3 42 Rear wire harness
Cargo area accessory power socket relay 1 4  
D (for trailer) 6 11 Not used
Rear window defogger relay 2 4