lemon-mirror:
Home >> Acura >> 2012 >> MDX >> Repair and Diagnosis >> Electrical >> Gauges >> Electrical Compass >> Center Information Display Input Test

Center Information Display Input Test

  1. Remove the center upper panel (see CENTER UPPER PANEL REMOVAL/INSTALLATION ).
  2. Remove the dashboard center panel (see DASHBOARD CENTER PANEL REMOVAL/INSTALLATION ).
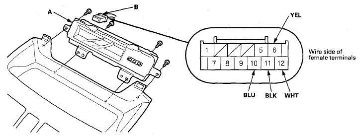
  3. Remove the four screws, and the center information display (A).
    Fig 1: Identifying Center Information Display And 12P Connector
    G08055507Courtesy of AMERICAN HONDA MOTOR CO., INC.
  4. Disconnect the 12P connector (B) from the center information display.
  5. Inspect the connector and socket terminals to be sure they are all making good contact.
    • If the terminals are bent, loose, or corroded, repair them as necessary, and recheck the system.
    • If the terminals look OK, go to step 6.
  6. Reconnect the connector to the center information display, turn the ignition switch to ON (II), and do the following input tests:
    • If any test indicates a problem, find and correct the cause, then recheck the system.
    • If all input tests prove OK, the center information display must be faulty; replace it.
    Cavity Wire Test Condition Test: Desired result Possible cause if desired result is not obtained
    11 BLK In all ignition switch positions Measure the voltage to ground: There should be less than 0.2 V.
    • Poor ground (G506) or an open in the ground wire
    • An open or high resistance in the wire
    12 WHT Under all conditions Measure the voltage to ground: There should be battery voltage.
    • Blown No. 7 (10 A) fuse in the under-dash fuse/relay box
    • Faulty under-dash fuse/relay box
    • An open or high resistance in the wire
    6 YEL Ignition switch ON (II) Measure the voltage to ground: There should be battery voltage.
    • Blown No. 21 (7.5 A) fuse in the under-dash fuse/relay box
    • Faulty under-dash fuse/relay box
    • An open or high resistance in the wire
    10 BLU Under all conditions Check for continuity between terminal No. 10 and PCM connector A (49P) terminal No. 30.
    There should be continuity.
    An open or high resistance in the wire