lemon-mirror:
Home >> Acura >> 2012 >> RL >> Repair and Diagnosis >> Body & Frame >> Door Locks >> Keyless Access System >> RF Unit 1 Replacement

RF Unit 1 Replacement

  1. Remove the navigation display unit (see NAVIGATION DISPLAY UNIT REMOVAL/INSTALLATION ).
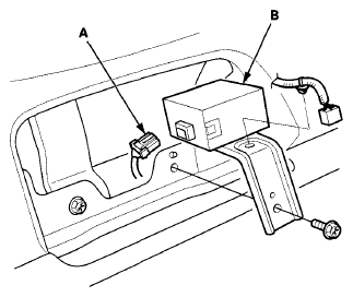
  2. Disconnect the 6P connector (A) from RF unit 1 (B).
    Fig 1: Disconnecting 6P Connector From Rf Unit
    G07363814Courtesy of AMERICAN HONDA MOTOR CO., INC.
  3. Remove the bolt and RF unit 1.
  4. Install the unit in the reverse order of removal.