lemon-mirror:
Home >> Acura >> 2012 >> RL >> Repair and Diagnosis >> Brakes >> Traction Control >> Vehicle Stability Assist System >> Wheel Speed Sensor Inspection >> Front

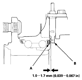
Wheel Speed Sensor Inspection: Front

Fig 1: Checking Magnetic Encoder
G07363355Courtesy of AMERICAN HONDA MOTOR CO., INC.