lemon-mirror:
Home >> Acura >> 2012 >> RL >> Repair and Diagnosis >> Collision >> Dimensions >> Body, Design, And Torque Service Specifications >> Design Specifications >> Body Specifications

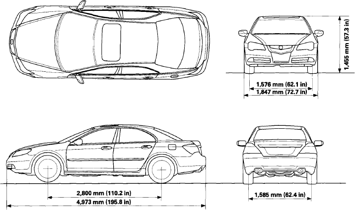
Body Specifications

Fig 1: Body Specifications And Dimensions
G07397263Courtesy of AMERICAN HONDA MOTOR CO., INC.