lemon-mirror:
Home >> Acura >> 2012 >> RL >> Repair and Diagnosis >> Electrical >> Body Electrical >> Accessory Power Sockets >> Front Accessory Power Socket Test/Replacement

Front Accessory Power Socket Test/Replacement

  1. Remove the console panel (see CENTER CONSOLE REMOVAL/INSTALLATION ), and disconnect the 6P connector (C528) (A).
    Fig 1: Disconnecting 6P Connector (C528)
    G07355144Courtesy of AMERICAN HONDA MOTOR CO., INC.
  2. Inspect the connector terminals to be sure they are all making good contact.
    • If the terminals are bent, loose, or corroded, repair them as necessary, and recheck the system.
    • If the terminals look OK, go to step 3.
  3. Turn the ignition switch to ACC (I), and measure the voltage between terminal No. 4 and body ground. There should be battery voltage.
    • If there is battery voltage, go to step 4.
    • If there is no battery voltage, check for:
    • Blown No. 9 (20 A) or No. 32 (10 A) fuse in the driver's under-dash fuse/relay box.
    • Faulty accessory power socket relay.
    • An open or high resistance in the WHT wire.
    • Poor ground (G601).
  4. Check for continuity between terminal No. 3 and body ground. There should be continuity.
    • If there is continuity, go to step 5.
    • If there is no continuity, check for:
    • An open or high resistance in the BLK wire.
    • Poor ground (G503).
  5. Remove the cover (A) and disconnect the 2P connector (B) from the front accessory power socket.
    Fig 2: Disconnecting 2P Connector From Front Accessory Power Socket
    G07355145Courtesy of AMERICAN HONDA MOTOR CO., INC.
  6. Check for continuity between accessory power socket subharness (C) 6P connector (C528) terminal No. 4 and accessory power socket 2P connector terminal No. 1, and the 6P connector (C528) terminal No. 3 and accessory power socket 2P connector terminal No. 2. If the harness is OK, go to step 7.
  7. Gently press tabs (A) and remove the socket (B).
    Fig 3: Removing Socket
    G07355146Courtesy of AMERICAN HONDA MOTOR CO., INC.
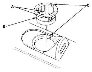
  8. Gently depress the tabs (A), then remove the housing (B) from the panel. Note the location of the indexing tabs (C).
    Fig 4: Removing Housing From Panel
    G07355147Courtesy of AMERICAN HONDA MOTOR CO., INC.
  9. Install the parts in the reverse order of removal.