lemon-mirror:
Home >> Acura >> 2012 >> RL >> Repair and Diagnosis >> Electrical >> Body Electrical >> Accessory Power Sockets >> Rear Accessory Power Socket Test/Replacement

Rear Accessory Power Socket Test/Replacement

  1. Open the center console.
  2. Remove the screws and accessory trim (A).
    Fig 1: Removing Screws And Accessory Trim
    G07355148Courtesy of AMERICAN HONDA MOTOR CO., INC.
  3. Inspect the 2P connector (B) terminals to be sure they are all making good contact.
    • If the terminals are bent, loose, or corroded, repair them as necessary, and recheck the system.
    • If the terminals look OK, go to step 4.
  4. Turn the ignition switch to ACC (I), and measure the voltage between terminal No. 1 and body ground. There should be battery voltage.
    • If there is battery voltage, go to step 5.
    • If there is no battery voltage, check for:
    • Blown No. 9 (20 A) or No. 32 (10 A) fuse in the driver's under-dash fuse/relay box.
    • Faulty accessory power socket relay.
    • Poor ground (G503, G601).
    • An open or high resistance in the wire.
  5. Check for continuity between terminal No. 2 and body ground. There should be continuity.
    • If there is continuity, go to step 6.
    • If there is no continuity, check for:
    • Poor ground (G503).
    • An open or high resistance in the wire.
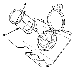
  6. Gently press the tabs (A) and remove the socket (B).
    Fig 2: Removing Socket
    G07355149Courtesy of AMERICAN HONDA MOTOR CO., INC.
  7. Gently depress the tabs (A), then remove the housing (B) from the panel. Note the location of the indexing tabs (C).
    Fig 3: Removing Housing From Panel
    G07355150Courtesy of AMERICAN HONDA MOTOR CO., INC.
  8. Install the parts in the reverse order of removal.