lemon-mirror:
Home >> Acura >> 2012 >> RL >> Repair and Diagnosis >> Engine Mechanical >> Mechanical >> Engine Block >> Piston Ring Replacement

Piston Ring Replacement

  1. Remove the pistons from the engine block (see CRANKSHAFT AND PISTON REMOVAL  ).
  2. Using a ring expander (A), remove the old piston rings (B).
    Fig 1: Removing Old Piston Rings
    G07361730Courtesy of AMERICAN HONDA MOTOR CO., INC.
  3. Clean all the ring grooves thoroughly with a squared-off broken ring, or a ring groove cleaner with a blade to fit the piston grooves. File down the blade, if necessary. The top ring and second ring grooves are 1.2 mm (0.047 in) wide, and the oil ring groove is 2.8 mm (0.110 in) wide. Do not use a wire brush to clean the ring grooves, or cut the ring grooves deeper with the cleaning tool.
    NOTE: If the piston is to be separated from the connecting rod, do not install new rings yet.
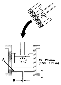
  4. Using a piston, push a new ring (A) into the cylinder bore 15-20 mm (0.59-0.79 in) from the bottom.
    Fig 2: Pushing Ring Into Cylinder Bore
    G07361731Courtesy of AMERICAN HONDA MOTOR CO., INC.
  5. Measure the piston ring end-gap (B) with a feeler gauge:
    • If the gap is too small, check to see if you have the proper rings for your engine.
    • If the gap is too large, recheck the cylinder bore diameter against the wear limits (see step  4 ).

    Piston Ring End-Gap 

    Top Ring: 

    Standard (New): 0.30-0.40 mm (0.0118-0.0157 in) 

    Service Limit: 0.60 mm (0.0236 in) 

    Second Ring: 

    Standard (New): 0.40-0.55 mm (0.0157-0.0217 in) 

    Service Limit: 0.70 mm (0.0276 in) 

    Oil Ring: 

    Standard (New): 0.20-0.70 mm (0.0079-0.0276 in) 

    Service Limit: 0.80 mm (0.0315 in) 

  6. Install the rings as shown. The top ring (A) has a 1E mark and the second ring (B) has a 2E mark. The manufacturing marks (C) must be facing upward.
    Fig 3: Installing Rings
    G07361732Courtesy of AMERICAN HONDA MOTOR CO., INC.
  7. After installing a new set of rings, measure the ring-to-groove clearance:

    Top Ring Clearance 

    Standard (New): 0.055-0.085 mm (0.00217-0.00335 in) 

    Service Limit: 0.15 mm (0.0059 in) 

    Second Ring Clearance 

    Standard (New): 0.030-0.060 mm (0.00118-0.00236 in) 

    Service Limit: 0.13 mm (0.0051 in) 

    Fig 4: Inspecting Top Ring Clearance
    G07361733Courtesy of AMERICAN HONDA MOTOR CO., INC.
  8. Rotate the rings in their grooves to make sure they do not bind.
  9. Position the ring end gaps as shown:
    Fig 5: Positioning Ring End Gaps
    G07361734Courtesy of AMERICAN HONDA MOTOR CO., INC.