lemon-mirror:
Home >> Acura >> 2012 >> RL >> Repair and Diagnosis >> Steering >> Power Steering >> Power Steering System >> Pump Overhaul >> Exploded View

Exploded View

Fig 1: Exploded View Of Pump Components With Torque Specifications
G07363009Courtesy of AMERICAN HONDA MOTOR CO., INC.

Disassembly 

NOTE: Refer to the EXPLODED VIEW  as needed during the following procedure.
  1. Drain the fluid from the pump (see FLUID CHECK/REPLACEMENT  ).
  2. Remove the power steering pump (see PUMP REPLACEMENT  ).
  3. Remove the inlet joint and the 15.8 mm O-ring.
  4. Loosen the flow control valve cap with a hex wrench, and remove it and the O-ring, the flow control valve, and the spring.
  5. Remove the pump cover and the pump cover seal.
  6. Remove the snap ring, then remove the cam ring, the rotor, the vanes, the side plate, and the O-rings.
  7. Remove the pulley (with pump driveshaft) by tapping the shaft end with a soft face hammer.
  8. Remove the seal from the pump housing.

    Inspection 

  9. Check the flow control valve for wear, burrs, and other damage to the edges of the grooves in the valve.
    Fig 2: Inspecting Flow Control Valve
    G07363010Courtesy of AMERICAN HONDA MOTOR CO., INC.
  10. Inspect the bore of the flow control valve on the pump housing for scratches and wear.
  11. Slip the flow control valve back into the pump housing, and check that it moves in and out smoothly. If OK, go to step 12 if not, replace the pump as an assembly. The flow control valve (A) is not available separately.
    Fig 3: Identifying Flow Control Valve
    G07363011Courtesy of AMERICAN HONDA MOTOR CO., INC.
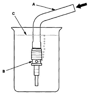
  12. Attach a hose (A) to the end of the flow control valve (B) as shown, then submerge the flow control valve in a container of power steering fluid (C), and apply compressed air in the hose.
    • If air bubbles leak through the valve at less than 98 kPa (1.00 kgf/cm2 , 14.2 psi), replace the pump as an assembly. The flow control valve is not available separately.
    • If the flow control valve is OK, set it aside for reassembly later.
      Fig 4: Attaching Hose To End Of Flow Control Valve
      G07363012Courtesy of AMERICAN HONDA MOTOR CO., INC.

    Reassembly 

  13. Install a new oil seal (A) (with its grooved side facing in) into the pump housing by hand first. Press the oil seal with the appropriate size socket wrench (B) as shown.
    Fig 5: Installing Oil Seal Into Pump Housing
    G07363013Courtesy of AMERICAN HONDA MOTOR CO., INC.
  14. Install the pulley (with pump driveshaft) in the pump housing.
  15. Coat a new 16.8 mm O-ring (A) with power steering fluid, and position it in the bottom of the pump housing.
    Fig 6: Positioning O-Ring In Bottom Of Pump Housing
    G07363014Courtesy of AMERICAN HONDA MOTOR CO., INC.
  16. Coat a new 47.2 mm O-ring (A) with power steering fluid, and position it in the bottom of the pump housing.
    Fig 7: Positioning 47.2 mm O-Ring In Bottom Of Pump Housing
    G07363015Courtesy of AMERICAN HONDA MOTOR CO., INC.
  17. Set the side plate (B) with its "H" mark (C) facing up, and align the slot (D) in the pump housing.
  18. Set the cam ring (A) with its "MS" mark (B) facing down, and align the slot (C) in the pump housing.
    Fig 8: Setting Side Plate
    G07363016Courtesy of AMERICAN HONDA MOTOR CO., INC.
  19. Assemble the rotor (A) to the pump housing (B) with its "↑" mark (C) facing up.
    Fig 9: Installing Rotor To Pump Housing
    G07363017Courtesy of AMERICAN HONDA MOTOR CO., INC.
  20. Set the 10 vanes (D) in the grooves in the rotor.
  21. Install the snap ring (A).
    Fig 10: Installing Snap Ring
    G07363018Courtesy of AMERICAN HONDA MOTOR CO., INC.
  22. Coat a new pump cover seal (A) with power steering fluid, and position it in the pump housing.
    Fig 11: Positioning Pump Cover Seal In Pump Housing With Torque Specifications
    G07363019Courtesy of AMERICAN HONDA MOTOR CO., INC.
  23. Install the pump cover (B) in the pump housing. Tighten the bolts to the specified torque alternating in two or more steps.
  24. Coat the flow control valve (A) with power steering fluid, then install it and the spring (B) in the pump housing.
    Fig 12: Installing Flow Control Valve And Spring In Pump Housing With Torque Specifications
    G07363020Courtesy of AMERICAN HONDA MOTOR CO., INC.
  25. Coat a new 19.8 mm O-ring (C) with power steering fluid, and install it on the flow control valve cap (D), then install the cap on the pump housing, and tighten it to the specified torque.
  26. Coat a new 15.8 mm O-ring (A) with power steering fluid, and install it on the inlet joint (B). Install the inlet joint on the pump housing.
    Fig 13: Installing Inlet Joint On Pump Housing With Torque Specifications
    G07363021Courtesy of AMERICAN HONDA MOTOR CO., INC.
  27. Check that the pump turns smoothly by turning the pulley by hand. If it turns hard, loosen the four flange bolts on the cover, then retighten them in the same manner as in step  23. Turn the pump again by hand.
  28. Install the power steering pump (see PUMP REPLACEMENT  ).