lemon-mirror:
Home >> Acura >> 2012 >> RL >> Repair and Diagnosis >> Transmission >> Automatic Trans >> Automatic Transmission >> ATF Level Check

ATF Level Check

NOTE:
  • Keep all foreign particles out of the transmission.
  • Check the fluid level within 60-90 seconds after turning the engine off.
  • Higher fluid level may be indicated if the radiator fan comes on twice or more.
  1. Park the vehicle on the level ground.
  2. Warm up the engine to normal operating temperature (the radiator fan comes on), and turn the engine off.
  3. Remove the ATF dipstick (yellow loop) (A) from the dipstick guide tube (B), and wipe it with a clean cloth.
    Fig 1: Removing ATF Dipstick (Yellow Loop) From Dipstick Guide Tube
    G07362335Courtesy of AMERICAN HONDA MOTOR CO., INC.
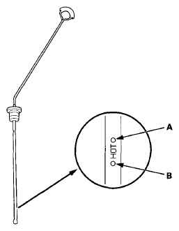
  4. Insert the dipstick back into the dipstick guide tube aligning the notch (C) with the guide tab (D).
  5. Remove the dipstick, and check the fluid level. It should be between the upper mark (A) and lower mark (B).
    Fig 2: Checking Fluid Level
    G07362336Courtesy of AMERICAN HONDA MOTOR CO., INC.
  6. If the ATF level is below the lower mark, check for fluid leaks at the transmission, the ATF hoses, and the line joints. If a problem is found, fix it before filling the transmission with ATF.
    NOTE: If the vehicle is driven when the ATF level is below the lower mark one or more of these symptoms may occur:
    • Transmission damage.
    • Vehicle does not move in any gear.
    • Vehicle accelerates poorly, and flares when starting off in forward and reverse positions.
    • The engine vibrates at idle.
  7. If the ATF level is above the upper mark, drain the ATF to proper level (see ATF REPLACEMENT  ).
    NOTE: If the vehicle is driven when the ATF level is above the upper mark, the vehicle may creep forward while in N, or have shifting problems.
  8. If necessary, fill the transmission with the recommended fluid through the dipstick guide tube opening (A) to bring the fluid level between the upper mark and the lower mark of the dipstick. Do not fill past the upper mark. Always use Acura ATF DW-1 Automatic Transmission Fluid (ATF). Using a non-Acura ATF can affect shift quality.
    Fig 3: Identifying Dipstick Guide Tube
    G07362337Courtesy of AMERICAN HONDA MOTOR CO., INC.
  9. Insert the dipstick back into the dipstick guide tube.