lemon-mirror:
Home >> Acura >> 2012 >> RL >> Repair and Diagnosis >> Transmission >> Automatic Trans >> Automatic Transmission >> Shift Lever Knob Replacement

Shift Lever Knob Replacement

NOTE: Make sure not to get any silicone grease on the terminal part of the connectors and switches, especially if you have silicone grease on your hands or gloves.
  1. Grasp the shift lever boot ring, and slip it out of the shift lever knob.
    Fig 1: Grasping Shift Lever Boot Ring
    G07362453Courtesy of AMERICAN HONDA MOTOR CO., INC.
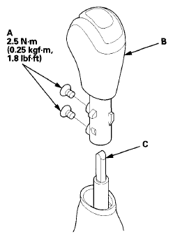
  2. Remove the screws (A), and remove the shift lever knob (B).
    Fig 2: Removing Shift Lever Knob With Torque Specifications
    G07362454Courtesy of AMERICAN HONDA MOTOR CO., INC.
  3. Apply silicone grease to the top of the lock-pin rod (C), and install the new shift lever knob over the shift lever.
  4. Apply non-hardening thread lock sealant to the screw threads, and secure the shift lever knob with the screws.
  5. Install the shift lever boot ring on the shift lever knob.