lemon-mirror:
Home >> Acura >> 2012 >> RL >> Repair and Diagnosis >> Transmission >> Automatic Trans >> Automatic Transmission >> Shift Lever Removal

Shift Lever Removal

  1. Remove the center console (see CENTER CONSOLE REMOVAL/INSTALLATION ).
  2. Shift the shift lever to R.
  3. Remove the nut (A) securing the shift cable end (B).
    Fig 1: Removing Nut Securing Shift Cable End
    G07362446Courtesy of AMERICAN HONDA MOTOR CO., INC.
  4. Unlock the retainer (A).
    Fig 2: Identifying Retainer
    G07362447Courtesy of AMERICAN HONDA MOTOR CO., INC.
  5. Rotate the socket holder retainer (A) counterclockwise (B) until it stops, and push in the retainer (C) to lock it.
    Fig 3: Identifying Socket Holder Retainer
    G07362448Courtesy of AMERICAN HONDA MOTOR CO., INC.
  6. Push the socket holder retainer (A) forward, then slide it to remove the shift cable (B) from the shift lever bracket (C). Do not remove the shift cable by pulling the shift cable guide (D).
    Fig 4: Removing Shift Cable From Shift Lever Bracket
    G07362449Courtesy of AMERICAN HONDA MOTOR CO., INC.
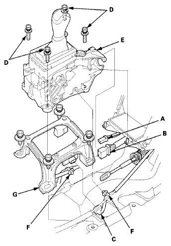
  7. Disconnect the shift lock solenoid connector (A), park pin switch/A/T gear position indicator panel light connector (B), and the yaw rate-acceleration sensor connector (C).
    Fig 5: Disconnecting Shift Lock Solenoid Connector And Park Pin Switch/A/T Gear Position Indicator Panel Light Connector
    G07362450Courtesy of AMERICAN HONDA MOTOR CO., INC.
  8. Remove the four bolts (D) securing the shift lever bracket (E), and remove the harness clamps (F), then remove the shift lever bracket.
  9. Remove the shift lever bracket base (G).