lemon-mirror:
Home >> Acura >> 2012 >> RL >> Repair and Diagnosis >> Transmission >> Automatic Trans >> Automatic Transmission >> System Description >> Electronic Control System >> Lock-Up Control

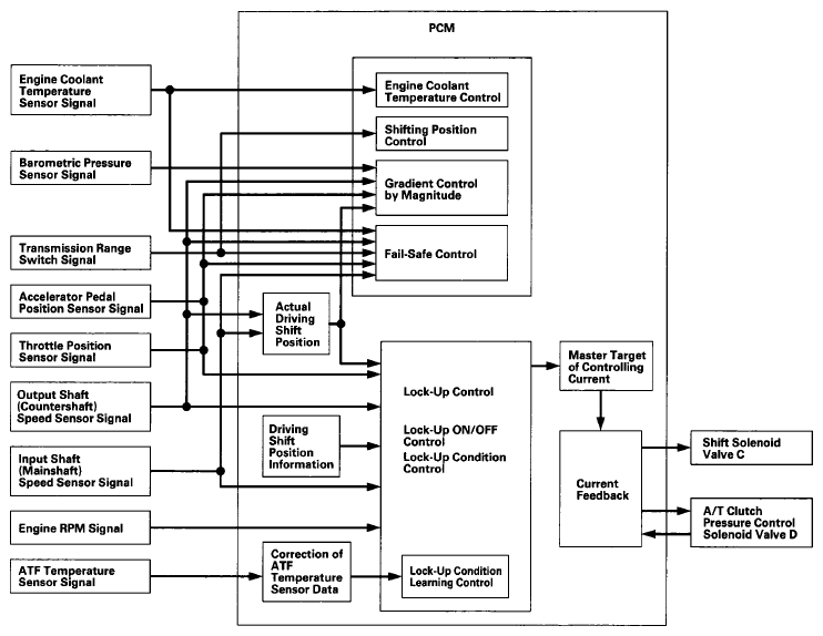
Lock-Up Control

Shift solenoid valve C and A/T clutch pressure control solenoid valve D control the hydraulic pressure to switch the lock-up shift valve and lock-up ON and OFF. When the PCM actuates shift solenoid valve C and A/T clutch pressure control solenoid valve D ON, lock-up starts. A/T clutch pressure control solenoid valve D applies and regulates hydraulic pressure to the lock-up control valve to control the amount of lock-up. The lock-up mechanism operates in D (during accelerating: 1st, 2nd, 3rd, 4th, 5th, and 6th gears/during decelerating: 2nd, 3rd, 4th, 5th, and 6th gears), S with automatic shift mode (during accelerating: 1st, 2nd, 3rd, 4th, and 5th gears/during decelerating: 2nd, 3rd, 4th, and 5th gears), and S with sequential sportshift mode (during accelerating: 1st, 2nd, 3rd, 4th, 5th, and 6th gears/during decelerating: 2nd, 3rd, 4th, 5th, and 6th gears).

Fig 1: Lock-Up Control Block Diagram
G07362166Courtesy of AMERICAN HONDA MOTOR CO., INC.