lemon-mirror:
Home >> Acura >> 2012 >> RL >> Repair and Diagnosis >> Transmission >> Automatic Trans >> Automatic Transmission >> System Description >> Electronic Control System >> Shift Control - Grade Logic Control

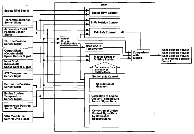
Shift Control - Grade Logic Control

The grade logic control system is used to control shifting in D, and in S with automatic shift mode. The PCM compares actual driving conditions with programmed driving conditions, based on the input from the throttle position sensor, the engine coolant temperature sensor, the barometric pressure sensor, the brake pedal position switch signal, and the transmission range switch signal, to switch shifting control from the normal control to the ascending or descending control when the PCM determines that the vehicle is ascending a slope or being driven in the rain.

Fig 1: Shift Control - Grade Logic Control
G07362160Courtesy of AMERICAN HONDA MOTOR CO., INC.