lemon-mirror:
Home >> Acura >> 2012 >> TL Base >> Repair and Diagnosis >> Body & Frame >> Door Locks >> Keyless Access System >> Remote Test >> Without HDS

Without HDS

  1. Open the remote, and check for water damage.
    • If you find any water damage, replace the remote.
    • If there is no water damage, go to step 2.
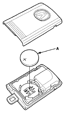
  2. Replace the remote battery (A) with a new one (CR2032), and try to lock and unlock the doors with the remote by pressing the lock or unlock button at least 10 times.
    • If the doors lock and unlock, the remote is OK.
    • If the doors do not lock and unlock, go to step 3.
      Fig 1: Identifying Remote Battery
      G08067818Courtesy of AMERICAN HONDA MOTOR CO., INC.
  3. Reprogram the remote with the HDS, then try to lock and unlock the doors.
    • If the doors lock and unlock, the remote is OK.
    • If the doors do not lock and unlock, try and program to another vehicle.