lemon-mirror:
Home >> Acura >> 2012 >> TL Base >> Repair and Diagnosis >> Body & Frame >> Exterior Body Panels >> Frame >> Frame Repair Chart >> Side View

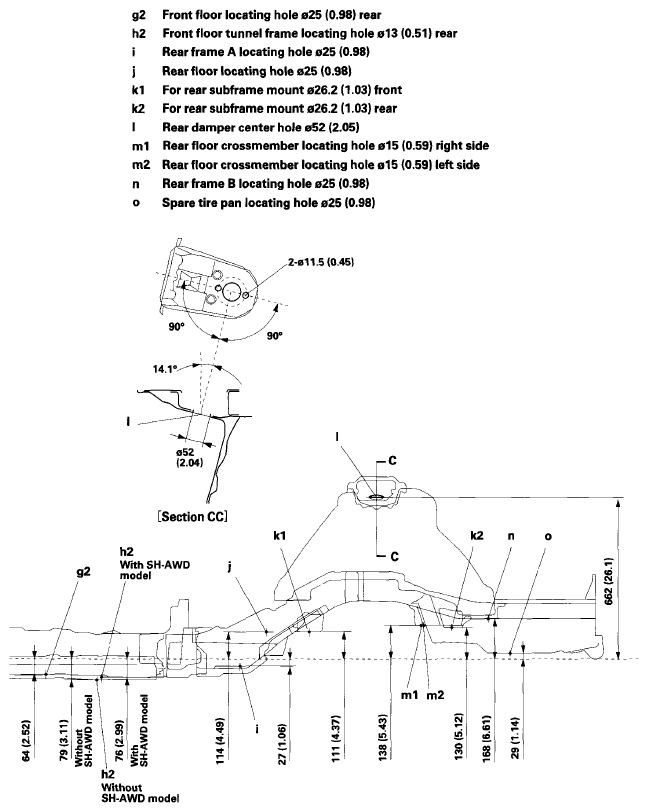
Side View

Fig 1: Frame Repair Chart (Left Side View)
G08070926Courtesy of AMERICAN HONDA MOTOR CO., INC.
Fig 2: Frame Repair Chart (Right Side View)
G08070927Courtesy of AMERICAN HONDA MOTOR CO., INC.