lemon-mirror:
Home >> Acura >> 2012 >> TL Base >> Repair and Diagnosis >> Electrical >> Body Electrical >> Accessory Power Sockets >> Console Accessory Power Socket Test/Replacement

Console Accessory Power Socket Test/Replacement

NOTE: If the front and console accessory power socket do not work, check the No. 18 (7.5 A) fuse in the driver's under-dash fuse/relay box, ground (G403), and ground (G601) (with keyless access system) first.
  1. Remove the center console panel (see CENTER CONSOLE PANEL REMOVAL/INSTALLATION ).
  2. Disconnect the 2P connector (A) from the console accessory power socket (B).
    Fig 1: Identifying 2P Connector And Console Accessory Power Socket
    G08071594Courtesy of AMERICAN HONDA MOTOR CO., INC.
  3. Inspect the connector terminals to be sure they are all making good contact.
    • If the terminals are bent, loose, or corroded, repair them as necessary, and recheck the system.
    • If the terminals look OK, go to step 4.
  4. Turn the ignition switch to ACCESSORY (I), or press the engine start/stop button to select the ACC mode.
  5. Measure the voltage between console accessory power socket relay terminal No. 3 and body ground. There should be less than 0.2 V.
    • If there is less than 0.2 V, go to step 6.
    • If there is more than 0.2 V, check for:
      • - An open or high resistance in the wire between console accessory power socket relay terminal No. 3 and ground (G403).
      • - Poor ground (G403).
  6. Measure the voltage between console accessory power socket 2P connector terminal No. 1 and body ground. There should be battery voltage.
    • If there is battery voltage, go to step 7.
    • If there is no voltage, check for:
      • - Blown No. 16 (15 A) fuse in the passenger's under-dash fuse/relay box.
      • - Faulty console accessory power socket relay.
      • - Faulty passenger's under-dash fuse/relay box.
      • - An open or high resistance in the wire between console accessory power socket relay terminal No. 2 and passenger's under-dash fuse/relay box connector A (38P) terminal No. 6.
      • - An open or high resistance in the wire between console accessory power socket relay terminal No. 1 and console accessory power socket 2P connector terminal No. 1.
  7. Check for continuity between console accessory power socket 2P connector terminal No. 2 and body ground. There should be continuity.
    • If there is continuity, replace the power socket, go to step 8.
    • If there is no continuity, check for:
      • - An open or high resistance in the wire between console accessory power socket 2P connector terminal No. 2 and ground (G403).
      • - Poor ground (G403).
  8. Gently press the tabs (A), then remove the socket (B).
    Fig 2: Identifying Tabs And Socket
    G08071595Courtesy of AMERICAN HONDA MOTOR CO., INC.
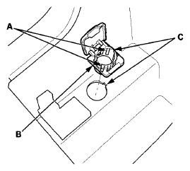
  9. Gently press the tabs (A), then remove the housing (B) from the panel. Note the location of the indexing tabs (C).
    Fig 3: Identifying Tabs, Housing And Indexing Tabs
    G08071596Courtesy of AMERICAN HONDA MOTOR CO., INC.
  10. Install the power socket in the reverse order of removal.