lemon-mirror:
Home >> Acura >> 2012 >> TL Base >> Repair and Diagnosis >> Electrical >> Horns >> Circuit Diagram

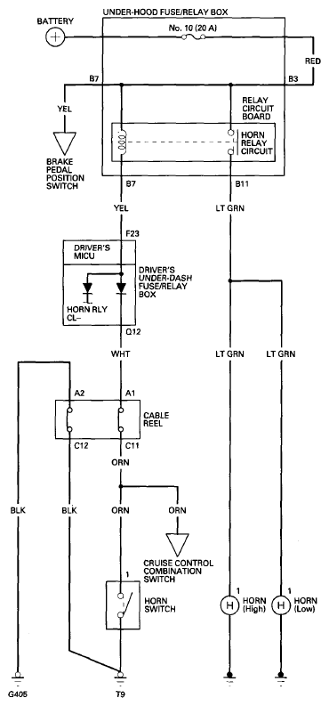
Circuit Diagram

Fig 1: Horns Circuit Diagram
G08071352Courtesy of AMERICAN HONDA MOTOR CO., INC.