lemon-mirror:
Home >> Acura >> 2012 >> ZDX >> Repair and Diagnosis >> Engine Mechanical >> Mechanical >> Engine Block >> Piston Ring Replacement

Piston Ring Replacement

  1. Remove the pistons from the engine block (see CRANKSHAFT AND PISTON REMOVAL  ).
  2. Using a ring expander (A), remove the old piston rings (B).
    Fig 1: Removing Piston Rings Using Ring Expander
    G08075296Courtesy of AMERICAN HONDA MOTOR CO., INC.
  3. Clean all the ring grooves thoroughly with a squared-off broken ring, or a ring groove cleaner with a blade to fit the piston grooves. File down the blade, if necessary. The top ring and second ring grooves are 1.2 mm (0.047 in) wide, and the oil ring groove is 2.0 mm (0.079 in) wide. Do not use a wire brush to clean the ring grooves, or cut the ring grooves deeper with the cleaning tool.
    NOTE: If the piston is to be separated from the connecting rod, do not install new rings yet.
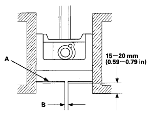
  4. Using a piston, push a new ring (A) into the cylinder bore 15-20 mm (0.59-0.79 in) from the bottom.
    Fig 2: Measuring Piston Ring End-Gap With Feeler Gauge
    G08075297Courtesy of AMERICAN HONDA MOTOR CO., INC.
  5. Measure the piston ring end-gap (B) with a feeler gauge:
    • If the gap is too small, check to see if you have the proper rings for your engine.
    • If the gap is too large, recheck the cylinder bore diameter against the wear limits (see  4 ).

    Piston Ring End-Gap 

    Top Ring: 

    Standard (New): 0.30-0.40 mm (0.012-0.015 in) 

    Service Limit: 0.60 mm (0.023 in) 

    Second Ring: 

    Standard (New): 0.40-0.55 mm (0.016-0.021 in) 

    Service Limit: 0.70 mm (0.027 in) 

    Oil Ring: 

    Standard (New): 0.20-0.35 mm (0.008-0.013 in) 

    Service Limit: 0.45 mm (0.017 in) 

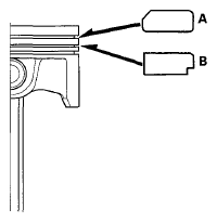
  6. Install the rings as shown in the illustration. The top ring (A) has a 1E mark and the second ring (B) has a 2E mark. The manufacturing marks (C) must be facing upward.
    Fig 3: Identifying Top Ring 1E Mark And Second Ring 2E Mark And Piston Ring Dimensions
    G08075298Courtesy of AMERICAN HONDA MOTOR CO., INC.

    Piston Ring Dimensions: 

    Top Ring (Standard) A: 3.1 mm (0.122 in) B: 1.2 mm (0.047 in) 

    Second Ring (Standard) A: 3.4 mm (0.134 in) B: 1.2 mm (0.047 in) 

  7. After installing a new set of rings, measure the ring-to-groove clearance:

    Top Ring Clearance 

    Standard (New): 0.055-0.085 mm (0.003-0.003 in) 

    Service Limit: 0.15 mm (0.005 in) 

    Second Ring Clearance 

    Standard (New): 0.030-0.060 mm (0.002-0.002 in) 

    Service Limit: 0.13 mm (0.005 in) 

    Fig 4: Measuring Ring-To-Groove Clearance
    G08075301Courtesy of AMERICAN HONDA MOTOR CO., INC.
  8. Rotate the rings in their grooves to make sure they do not bind.
  9. Position the ring end gaps as shownin the illustration.
    Fig 5: Identifying Ring End Gaps Position
    G08075302Courtesy of AMERICAN HONDA MOTOR CO., INC.