lemon-mirror:
Home >> Acura >> 2012 >> ZDX >> Repair and Diagnosis >> Steering >> Power Steering >> Power Steering System >> Steering Lock Replacement

Steering Lock Replacement

  1. Remove the steering column (see STEERING COLUMN REMOVAL AND INSTALLATION  ).
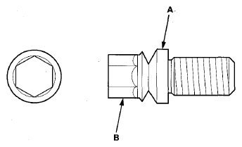
  2. Center-punch both of the shear bolts (A), and drill their heads off with a 5.0 mm (0.197 in) drill bit. Be careful not to damage the steering lock (B) when removing the shear bolts.
    NOTE: The illustration shows without keyless access system.
    Fig 1: Drilling Shear Bolts
    G08073241Courtesy of AMERICAN HONDA MOTOR CO., INC.
  3. Remove the shear bolts from the steering lock, then remove the steering lock.
  4. Without keyless access system: Remove the immobilizer-keyless control unit from the steering lock, then install it to the new steering lock (see IMMOBILIZER-KEYLESS CONTROL UNIT REGISTRATION ).
  5. Without keyless access system: Install the steering lock without the key inserted.
  6. Loosely tighten the new shear bolts.
  7. Without keyless access system: Insert the ignition key, and check for proper operation of the steering wheel lock and that the ignition key turns freely.
  8. Tighten the shear bolts (A) until the hex heads (B) twist off.
    Fig 2: Identifying Shear Bolts
    G08073242Courtesy of AMERICAN HONDA MOTOR CO., INC.
  9. Install the steering column (see INSTALLATION  ).
  10. Rewrite all new keys or all new remotes to the new immobilizer control unit-receiver, and make sure the immobilizer system works properly: Without keyless access system (see IMMOBILIZER KEY REGISTRATION ), with keyless access system (see KEYLESS ACCESS SYSTEM REGISTRATION ).