lemon-mirror:
Home >> Acura >> 2012 >> ZDX >> Repair and Diagnosis >> Transmission >> Automatic Trans >> Automatic Transmission >> Transfer Assembly >> Inspection >> Transfer Gear Backlash Measurement

Transfer Gear Backlash Measurement

  1. Raise the vehicle on a lift, and make sure it is supported securely.
  2. Shift the transmission into N.
  3. Make reference marks (A) across the No. 1 propeller shaft (B) and the transfer companion flange (C).
    Fig 1: No. 1 Propeller Shaft, Transfer Companion Flange And Reference Marks With Mounting Bolts With Torque Specifications
    G08075047Courtesy of AMERICAN HONDA MOTOR CO., INC.
  4. Separate the No. 1 propeller shaft from the transfer companion flange.
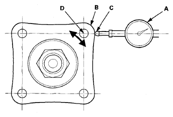
  5. Set a dial indicator (A) on the transfer companion flange (B); position the dial indicator tip (C) on the direct extension of the bolt hole center (D).
    Fig 2: Measuring Transfer Gear Backlash
    G08075048Courtesy of AMERICAN HONDA MOTOR CO., INC.
  6. Measure the transfer gear backlash.

    Standard: 0.06-0.16 mm (0.0024-0.0063 in) 

  7. If the transfer gear backlash is out of the standard, replace the transfer assembly.