lemon-mirror:
Home >> Acura >> 2013 >> TL Base >> Repair and Diagnosis >> Transmission >> Automatic Trans >> Automatic Transmission >> Disassembly >> Exploded View

Exploded View

Fig 1: Exploded View Of Transmission With Torque Specifications
G08066904Courtesy of AMERICAN HONDA MOTOR CO., INC.

Special Tools Required 

Flange Holder 07XAB-0010101

NOTE: To prevent damage to the transfer housing, always use wood blocks or equivalent materials between the transfer housing and a bench vise.
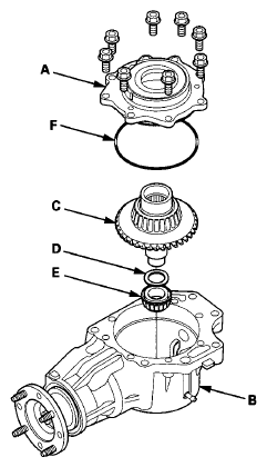
  1. Remove the transfer cover (A) from the transfer housing (6).
    Fig 2: Identifying Transfer Cover And Housing, Thrust Shim, Roller Bearing, O-Ring And Drive Gear/Shaft Assembly
    G08066905Courtesy of AMERICAN HONDA MOTOR CO., INC.
  2. Remove the transfer hypoid drive gear/shaft assembly (C), the 25 mm thrust shim (D), and the tapered roller bearing (E).
  3. Remove the O-ring (F) from the transfer cover.
  4. Remove the oil seal from the transfer cover (see TRANSFER COVER OIL SEAL REPLACEMENT  ).
  5. Drain the transfer fluid (hypoid gear oil) from the transfer housing.
  6. Cut the lock tab on the locknut using a chisel.
    Fig 3: Cutting Lock Tab On Locknut Using Chisel
    G08066906Courtesy of AMERICAN HONDA MOTOR CO., INC.
  7. Secure the transfer housing in a bench vise with wood blocks.
    Fig 4: Securing Transfer Housing In Bench Vise With Wood Blocks
    G08066907Courtesy of AMERICAN HONDA MOTOR CO., INC.
  8. Install the flange holder on the companion flange, then loosen the locknut.
  9. Remove the flange holder.
  10. Remove the locknut (A), the conical spring washer (B), the back-up ring (C), the O-ring (D), and the companion flange (E) from the transfer output shaft (hypoid gear) (F).
    Fig 5: Identifying Locknut, Conical Spring Washer, Back-Up Ring, O-Ring, Companion Flange And Transfer Output Shaft
    G08066908Courtesy of AMERICAN HONDA MOTOR CO., INC.
  11. Remove the transfer output shaft (hypoid gear) (A) from the transfer housing (B), then remove the thrust washer (C) and the transfer spacer (D) from the transfer output shaft (hypoid gear).
    Fig 6: Identifying Transfer Output Shaft, Transfer Housing, Thrust Washer And Transfer Spacer
    G08066909Courtesy of AMERICAN HONDA MOTOR CO., INC.
  12. Remove the oil seal (A) and the tapered roller bearing (B) from the transfer housing (C).
    Fig 7: Identifying Oil Seal, Tapered Roller Bearing And Transfer Housing
    G08066910Courtesy of AMERICAN HONDA MOTOR CO., INC.