lemon-mirror:
Home >> Acura >> 2021 >> RDX Base >> Repair and Diagnosis >> Electrical >> Charging Systems >> Alternator Components - Service Information >> Exploded View >> Alternator Components >> Repair Procedure >> Procedure

Repair Procedure: Procedure

  1. A.

    ■ Sub-Procedure 

    NOTE: While the cap is off, the grease inside the OAD pulley is exposed. Do not wipe the grease off, and make sure it does not become contaminated.
    GHH339214Courtesy of HONDA, U.S.A., INC.

    • Removal 

    • Remove the OAD pulley seal cap by piercing the center of the rubber cap with a flat screwdriver and prying it loose.

    • Installation 

    NOTE:
    • When installing, do not distort the OAD pulley seal cap.
    • Make sure to check that the cap is installed securely.
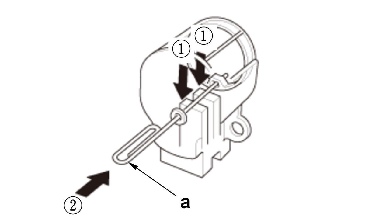
  2. B.

    ■ Sub-Procedure 

    NOTE: The grease inside the OAD pulley is exposed. Do not wipe the grease off, and make sure it does not become contaminated.
    GHH339215Courtesy of HONDA, U.S.A., INC.

    • Removal 

    • Turn the alternator shaft clockwise.
  3. C.

    ■ Sub-Procedure 

    Figure 1 

    GHH339216Courtesy of HONDA, U.S.A., INC.

    • Removal 

    Tool Specifications (Figure 1) 

    Specifications
    a: Brass Drift

    Figure 2 

    GHH339217Courtesy of HONDA, U.S.A., INC.

    • Installation 

    Installation Depth (Figure 2) 

    Specifications
    c: No Clearance
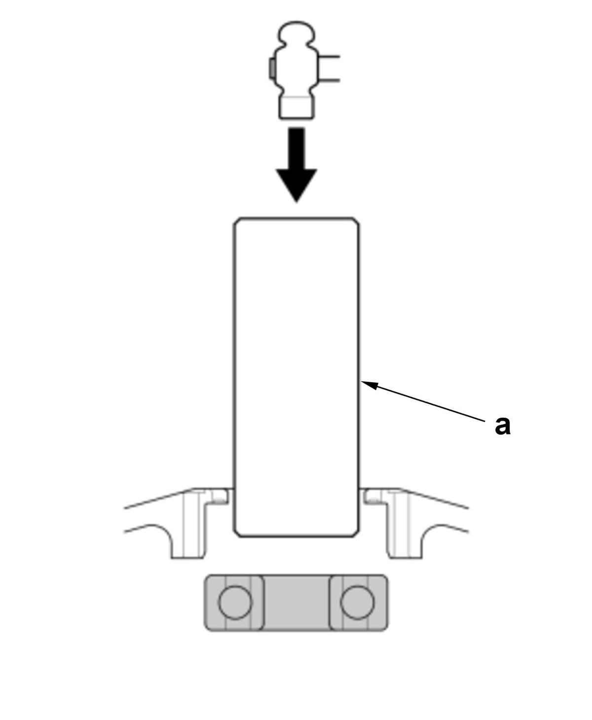
  4. D.

    ■ Sub-Procedure 

    GHH339218Courtesy of HONDA, U.S.A., INC.

    • Installation 

    Pin Diameter Specifications 

    Position Specifications
    a about 1.6 mm (0.063 in)