lemon-mirror:
Home >> Acura >> 2021 >> TLX Base >> Repair and Diagnosis >> Electrical >> Body Electrical >> Electrical System - Components Location, Testing & Troubleshooting >> Troubleshooting >> Parasitic Draw Check >> Notes

Parasitic Draw Check: Notes

Parasitic Draw Check 

How to use this manual .

Special Tools Required 

LH41 AC/DC low current clamp meter, FLULH41A**: Available through the Acura Tool and Equipment Program, 888-424-6857

NOTE:
  • Make sure that the aftermarket electrical accessories have been properly installed.
  • Leaving a keyless remote near the vehicle causes excessive parasitic draw.
  • Using the HDS, select BATTERY CONSUMPTION CURRENT HISTORY to check the parasitic draw.

1. Make sure the 12 volt battery is fully charged, and that all the vehicle's electrical accessories are turned off.

2. Turn the vehicle to the OFF (LOCK) mode.

3. Wait for at least 20 minutes.

4. Attach the LH41 AC/DC low current clamp meter (A) to the battery ground cable (B). Follow the equipment manufacturer's instructions, then measure the parasitic draw.

NOTE: If you are using a digital multimeter: go to step 5.
GHH479352Courtesy of HONDA, U.S.A., INC.

Check the following items before measuring:

NOTE: If LH AC/DC low current clamp meter (FLULH41A) not available do the follow procedure.

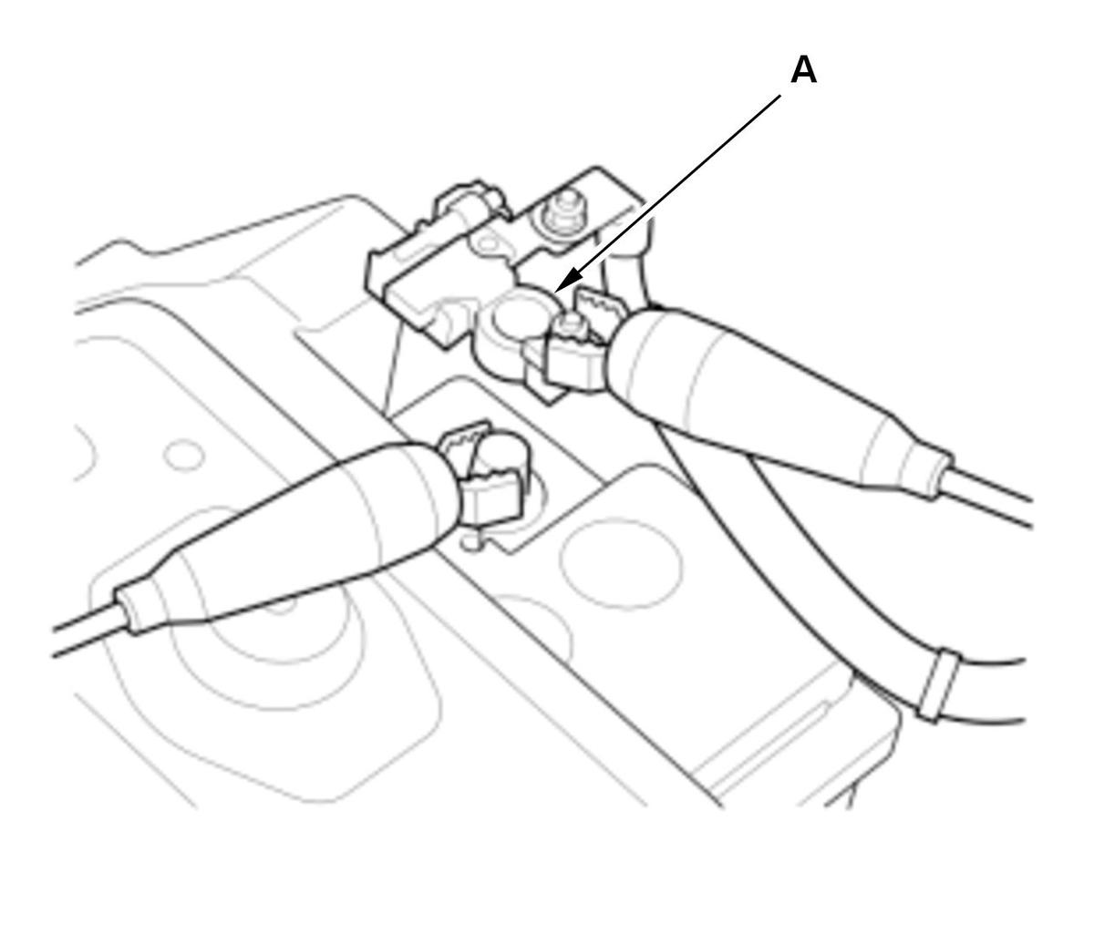
6. Loosen the nut (A) on the 12 volt battery negative terminal.

NOTE: Follow the instructions exactly to avoid disconnecting the 12 volt battery ground cable terminal from the 12 volt battery negative terminal.
GHH479353Courtesy of HONDA, U.S.A., INC.

7. Connect the red (+) test lead (A) to the negative terminal (B) of the 12 volt battery ground cable.

GHH479354Courtesy of HONDA, U.S.A., INC.

8. Carefully slide the 12 volt battery negative terminal of the 12 volt battery ground cable upwards from the 12 volt battery negative terminal post to maintain contact and avoid disconnection. Then connect the black (-) test lead (C) to the 12 volt battery negative terminal post.

9. Disconnect the 12 volt battery negative terminal (A) of the 12 volt battery ground cable from the 12 volt battery negative terminal.

GHH479355Courtesy of HONDA, U.S.A., INC.

10. Measure the parasitic draw.

NOTE: If the measured value is over the threshold, wait 20 minutes and recheck.