lemon-mirror:
Home >> American Motors >> 1985 >> Encore Base >> Repair and Diagnosis >> Engine Performance >> Ignition System >> Ignition System - 1.4L >> Description

Ignition System - 1.4L: Description

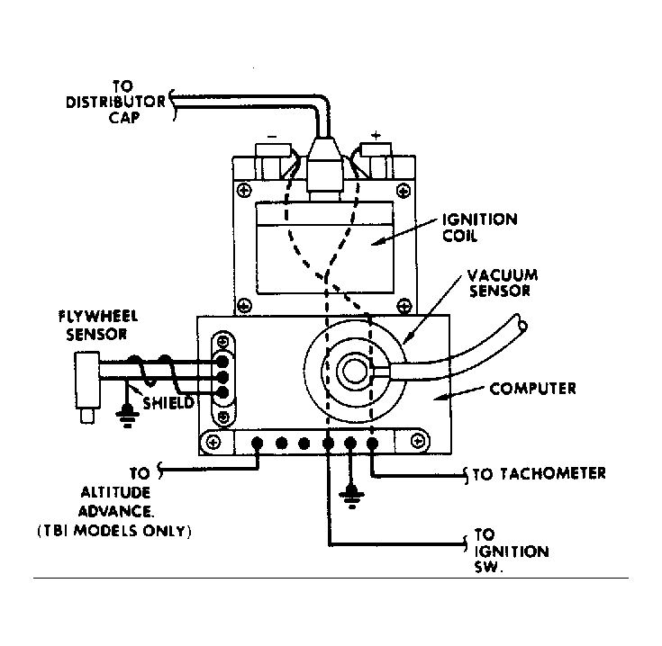
The electronic ignition system used in the Alliance & Encore includes a computer, distributor, ignition coil, vacuum sensor and a crankshaft position sensor. See Fig 1. The ignition coil, which is part of the computer assembly, may be replaced separately if it is determined to be defective.

As engine speed and crankshaft position are determined by the preset magnetic position sensor, the distributor's only function is to distribute the spark to the correct spark plug at the proper time.

The vacuum sensor, which cannot be removed from the computer housing, supplies the computer with engine load conditions. Vehicles with throttle body fuel injection have a calibrated orifice in the hose between the vacuum sensor and the vacuum pipe.

The flywheel originally had 44 evenly spaced teeth around its circumference. Two of these teeth have been removed 90° before top dead center and 90° after top dead center. This is to obtain a timing mark 90° from top and bottom dead center positions. Therefore there are actually only 40 teeth.

Fig 1: Ducellier Electronic Ignition System Schematic This system used on Alliance & Encore models.
G714