lemon-mirror:
Home >> Audi >> 1982 >> 5000 Base, Automatic Trans >> Repair and Diagnosis >> Engine Performance >> Fuel Delivery >> Diesel Fuel Injection - BOSCH >> Testing >> Glow Plugs

Glow Plugs

  1. To check glow plug condition, remove glow plug wire and bus bar connector. Connect test lamp between each glow plug and battery positive terminal (one at a time). Test lamp will light if glow plugs are good. If test lamp does not light, replace all glow plugs.
  2. To check voltage supply, reconnect wires and bus bar connector. Connect test light between ground and cylinder No. 4 glow plug. Turn ignition switch to glow plug position and lamp should light. If not, check for a defective glow plug fuse located to the left of steering column behind instrument panel.
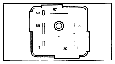
  3. If fuse is OK, check terminal No. 30 of glow plug relay for voltage. If voltage is not present, check for defective relay plate or break in wiring from relay plate terminal No. 30 to relay terminal No. 30.
    Fig 1: Glow Plug Relay Terminals
    G09315330Courtesy of AUDI OF AMERICA, LLC
  4. If voltage is present, relay is not working. Connect test lamp to ground and to terminal No. 86 on relay and turn ignition switch to glow plug position. If test lamp lights up, repair connection from terminal No. 85 to ground, or from terminal No. 87 to glow plugs. If terminal connections are okay, replace glow plug relay. If lamp does not light, repair connection from relay plate to relay terminal No. 86, or replace relay plate.