lemon-mirror:
Home >> Audi >> 1984 >> Quattro >> Repair and Diagnosis >> Suspension >> Wheel Alignment >> Wheel Alignment Specifications & Procedures >> Adjustment >> Toe-In Front >> 5-Cylinder

Toe-In Front: 5-Cylinder

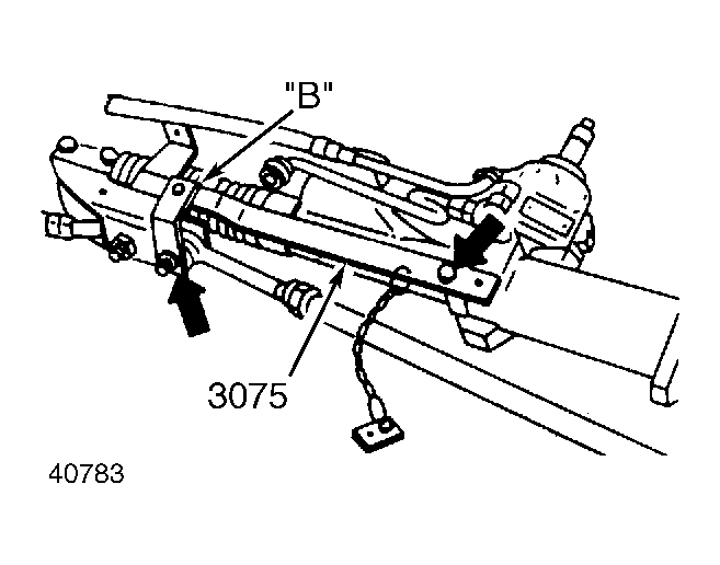
  1. Adjustment is done on both sides. Turn steering gear to center position. Remove bolt "A". See Fig 1 . Attach centering tool (3075) with bracket "B" over mounting nut of left tie rod (left arrow). See Fig 2 .
    Fig 1: Steering Gear Bolt "A"
    G40782
  2. Remove bolt from spacer on chain of centering tool. Insert bolt through hole (marked with L) on centering tool, and tighten to steering gear (right arrow). See Fig 2 . Measure and divide total toe in half.
  3. Loosen clamps and outer lock nut on both tie rods. Turn both tie rods until specifications for toe is reached. Tighten clamp and lock nuts on tie rods.
  4. Check and reposition steering wheel in center position, if necessary. Remove centering tool and tighten bolt "A" to 14 ft. lbs. (20 N.m).
Fig 2: Steering Gear Centering Tool (3075)
G40783