lemon-mirror:
Home >> Audi >> 2001 >> A6 Base >> Repair and Diagnosis >> Body & Frame >> Windows >> Power Windows >> Component Tests >> Window Switches

Window Switches

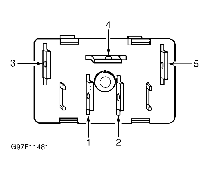
  1. Remove window switch to be tested and disconnect harness connector. Check continuity between switch terminals with switch in appropriate position. See POWER WINDOW SWITCH TEST  table. See Fig 1 . If continuity is not as specified, replace window switch.
  2. After installation of new components or disconnecting and reconnecting battery, run power window to fully closed position. Release switch. Place and hold window in close position for more than one second. This will reactivate the "express" feature.
POWER WINDOW SWITCH TEST

Switch Position Check For Continuity Between Terminals No.
Up 1 & 4
Neutral (1) (2) 2 & 5; 1 & 3
Down 2 & 4
(1) This switch position does not apply to TT.
(2) No continuity should exist between terminals No. 2 and 4, and terminals No. 1 and 4.
Fig 1: Identifying Power Window Switch Terminals
G97F11481Courtesy of AUDI OF AMERICA, INC.