lemon-mirror:
Home >> Audi >> 2002 >> S4 Quattro, Automatic >> Repair and Diagnosis >> Engine Performance >> System >> Engine Controls - System & Component Testing >> Air Induction Systems >> Recirculating Valve For Turbocharger

Recirculating Valve For Turbocharger

NOTE: See appropriate diagram in VACUUM DIAGRAMS article, to aid in identifying turbocharger systems hoses and connections.
  1. Turn ignition off. Connect scan tool to DLC. DLC is located behind cover under left side of steering column. Locate turbocharger recirculating valve (1) on intake manifold. See Fig 1 .
    Fig 1: Locating Turbocharger Recirculation Valve Components
    G00073496Courtesy of AUDI OF AMERICA, INC.
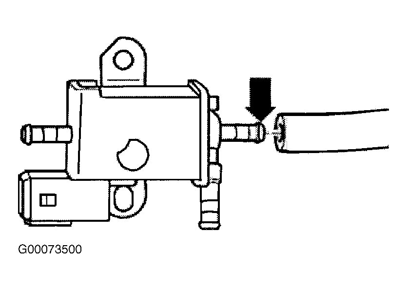
  2. Disconnect vacuum hoses from recirculating valve, leaving harness connector attached. Connect an auxiliary length of vacuum hose to end of solenoid valve marked with an arrow. See Fig 2 .
    Fig 2: Testing Turbocharger Recirculation Valve
    G00073500Courtesy of AUDI OF AMERICA, INC.
  3. Turn ignition on. Using scan tool, initiate output Diagnostic Test Mode (DTM) and activate turbocharger recirculating valve. See FUNCTION 03 - OUTPUT DIAGNOSTIC TEST MODE under SELF-DIAGNOSTIC SYSTEM in appropriate SELF-DIAGNOSTICS article. Recirculating valve should click and open when activated (check by blowing through end of auxiliary hose). If recirculating valve does not click when activated, go to next step. If recirculating valve clicks but does not open when activated, go to step  10 . If recirculating valve operates as specified, go to step  11 .
  4. Disconnect turbocharger recirculating valve 2-pin harness connector. Using DVOM, measure resistance between turbocharger recirculating valve terminals. See Fig 3 . Resistance should be 27-30 ohms. If resistance is as specified, go to next step. If resistance is not as specified, go to step  10 .
    Fig 3: Testing Resistance Of Turbocharger Recirculation Valve
    G00073504Courtesy of AUDI OF AMERICA, INC.
  5. NOTE: Before performing test procedure, ensure engine timing and fuel pump relay fuses are okay. Check fuel pump relay.
  6. Using LED equipped test light connected to ground, probe turbocharger recirculating valve harness connector terminal No. 1. See Fig 2 . Briefly operate starter. If test light does not flash, go to next step. If test light flashes, go to step  7 .
  7. Check for open in circuit between turbocharger recirculating valve harness connector terminal No. 1 and fuel pump relay. See ENGINE PERFORMANCE wiring diagram in SYSTEM WIRING DIAGRAMS article in ELECTRICAL. If no problem is found, go to next step. If problem is found, repair as necessary. After repair, go to step  11 .
  8. Connect test light between turbocharger recirculating valve harness connector terminals No. 1 and 2. Using scan tool, initiate output DTM and activate turbocharger recirculating valve. If test light does not flash or illuminates continuously, go to next step. If test light flashes, go to step  11 .
  9. Turn ignition off. Disconnect Engine Control Module (ECM) harness connector. ECM is located in left rear corner of engine compartment, in electronics box. Connect VAG 1598/31 test box to ECM harness connector (leave ECM disconnected). Check for open, short to ground or short to voltage in circuit between turbocharger recirculating valve harness connector terminal No. 2 and VAG test box socket No. 105. If no problem is found, go to next step. If problem is found, repair as necessary. After repair, go to step  11 .
  10. Replace ECM. See ENGINE CONTROL MODULE REPLACEMENT in REMOVAL & INSTALLATION article. After repairs, go to step  11 .
  11. Replace turbocharger recirculating valve. After repair, go to next step.
  12. Using scan tool, clear DTCs and generate a ECM readiness code. See FUNCTION 05 - CLEARING DIAGNOSTIC TROUBLE CODES and READINESS CODE under SELF-DIAGNOSTIC SYSTEM in appropriate SELF-DIAGNOSTICS article. Test drive vehicle. Using scan tool, retrieve DTCs. If DTC does not reset, testing is complete.