lemon-mirror:
Home >> Audi >> 2012 >> A8 Base >> Repair and Diagnosis >> Electrical >> Horns >> Communication >> 91 Communication >> Telephone System >> Overview - Microphone Unit

Overview - Microphone Unit

One microphone (Interior Microphone -R74-) is connected directly to the Digital Sound System Control Module -J525-. The other microphones are connected to the Information Electronics Control Module 1 -J794-.

Fig 1: Microphone Unit in Front Roof Module
GWWA91-11547Courtesy of AUDI OF AMERICA, LLC
  1. Front Interior Lamp -W1-
  2. 6-Pin Connector -T6k-
  3. Microphone (blue) to Information Electronics Control Module 1 -J794-
  4. Microphone (black) to Digital Sound System Control Module -J525-
  5. Microphone (gray) to Information Electronics Control Module 1 -J794-
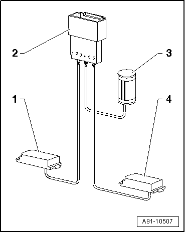
Fig 2: Identifying Multi-Pin Connector Assignments
GWWA91-10507Courtesy of AUDI OF AMERICA, LLC
  1. Left Front Microphone -R140- (gray)
  2. 6-Pin Connector -T6k-, Pin 1-2: Left Front Microphone -R140- (gray), Pin 3-4: Interior Microphone -R74- (black), Pin 5-6: Right Front Microphone -R141- (blue)
  3. Interior Microphone -R74- (black)
  4. Right Front Microphone -R141- (blue)

Microphone Unit in Front Roof Module -R164-, removing and installing, refer to Microphone Unit in Front Roof Module -R164-, REMOVING AND INSTALLING .