lemon-mirror:
Home >> Audi >> 2016 >> allroad Premium >> Repair and Diagnosis >> Electrical >> Horns >> Communication >> 91 Communication >> Voice Recognition System >> Speech Input Control Module Connector

Speech Input Control Module Connector

NOTE:

Unlisted connector terminals are not assigned.

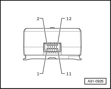
Fig 1: Identifying Speech Input Control Module J507, Multi-Pin Connector Assignments
GWWA91-0926Courtesy of AUDI OF AMERICA, LLC
  1. Not Assigned
  2. Not Assigned
  3. Status
  4. Diagnosis
  5. Terminal 30
  6. Reset signal
  7. Power good
  8. Power on
  9. Terminal 31
  10. MOST out
  11. Enabled
  12. MOST in