lemon-mirror:
Home >> BMW >> 2000 >> 750iL >> Repair and Diagnosis >> Electrical >> Charging Systems >> General Electrical System - Repair Instructions >> Plug Connection Terminal >> 61 13... Relay carrier

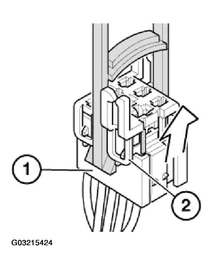
61 13... Relay carrier

Place special tool 61 1 153 on relay carrier (1) and carefully pull in direction of arrow until retaining lugs (2) on relay carrier are raised.

Fig 1: Placing Special Tool On Relay Carrier
G03215424

Pull relay carrier (2) in direction of arrow into first catch (3).

Fig 2: Pulling Relay Carrier
G03215425

Press down arrester hook (4) of appropriate contact and pull out cable with contact.

Press out double flat spring contact with special tool 61 1 136 or 61 1 137 (ejector).

Fig 3: Pressing Down Arrester Hook Of Appropriate Contact And Pulling Out Cable With Contact
G03215426