lemon-mirror:
Home >> BMW >> 2000 >> Z8 >> Repair and Diagnosis >> Body & Frame >> Towing Systems >> Trailers - Repair Instructions >> loading platform >> 86 10 ... Replacing 12 volt socket

86 10 ... Replacing 12 volt socket

From underside of platform, cut through cable tie (1) and remove. Disconnect plug with grommet (2) from socket (3) towards bottom.

Fig 1: Disconnecting Plug With Grommet
G03207673Courtesy of BMW OF NORTH AMERICA, INC.

Installation: 

Position all seals correctly. Also secure plug with grommet (2) using new cable tie to other socket.

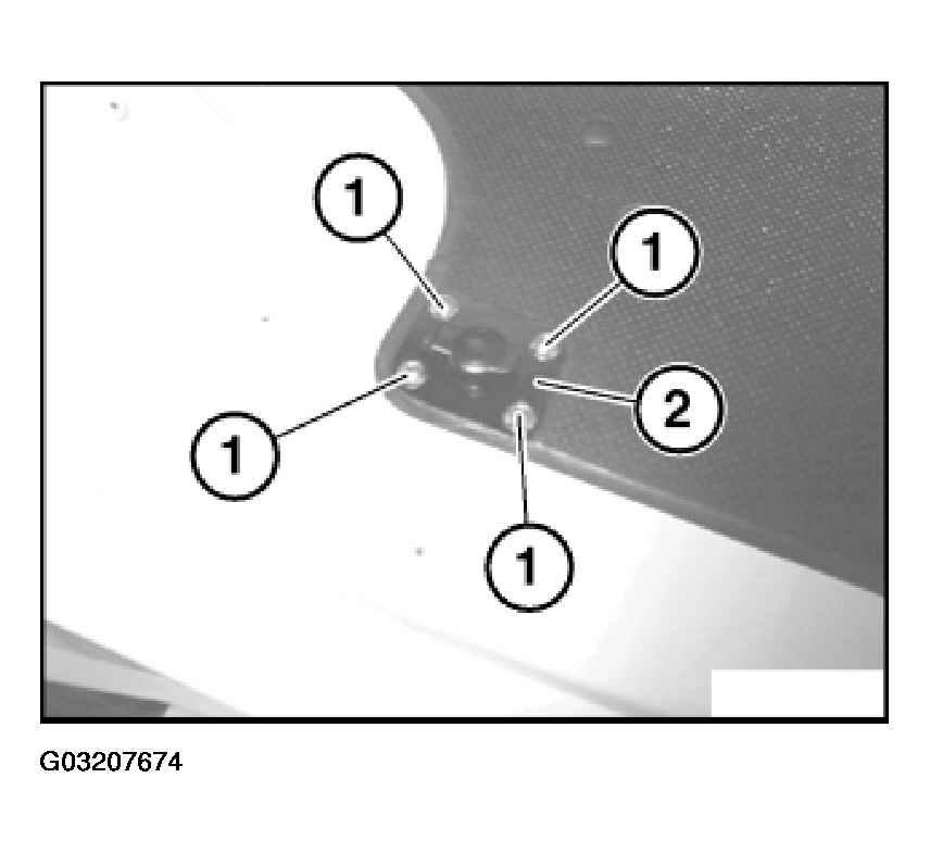
On upper side of platform, release Phillips screws (1) on mounting bracket (2).

Fig 2: Releasing Phillips Screws On Mounting Bracket
G03207674Courtesy of BMW OF NORTH AMERICA, INC.

Remove sealing compound along white marking (1).

Fig 3: Removing Sealing Compound
G03207675Courtesy of BMW OF NORTH AMERICA, INC.

Installation: 

Make sure cable is correctly laid.

Use Sikaflex 221 as sealing compound.

Grip under mounting bracket (1) with a screwdriver and lever out bracket (1) towards top. Remove bracket (1).

Fig 4: Removing Bracket
G03207676Courtesy of BMW OF NORTH AMERICA, INC.

Release nut (1). Remove socket (2) from mounting bracket (3).

Fig 5: Removing Socket From Mounting Bracket
G03207677Courtesy of BMW OF NORTH AMERICA, INC.