lemon-mirror:
Home >> BMW >> 2002 >> 330i Automatic >> Repair and Diagnosis >> Body & Frame >> Windows >> General Electrical System - Repair >> Relays >> 61 13... Relay carrier

61 13... Relay carrier

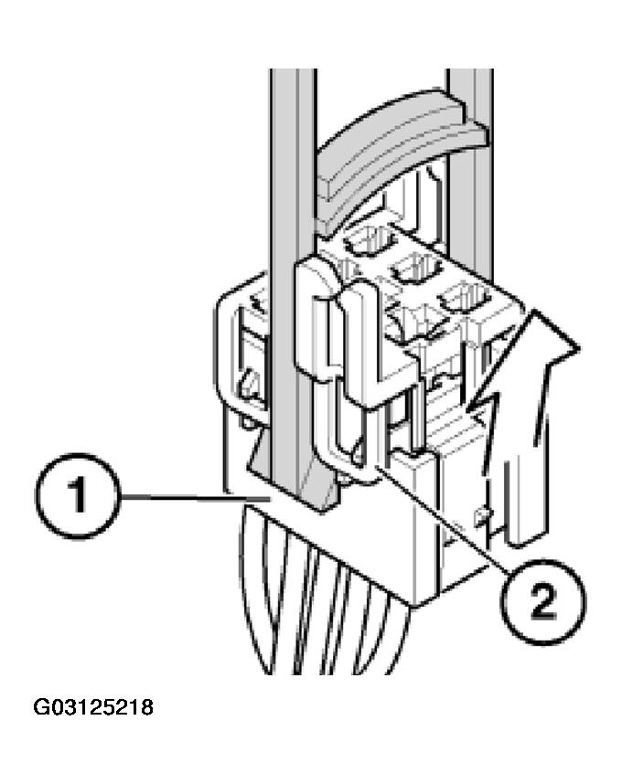
Place special tool 61 1 153 on relay carrier (1) and carefully pull in direction of arrow until retaining lugs (2) on relay carrier are raised.

Fig 1: Pulling Relay Carrier
G03125218Courtesy of BMW OF NORTH AMERICA, INC.

Pull relay carrier (2) in direction of arrow into first catch (3).

Fig 2: Pulling Relay Carrier Into First Catch
G03125219Courtesy of BMW OF NORTH AMERICA, INC.

Press down arrester hook (4) of appropriate contact and pull out cable with contact.

Press out double flat spring contact with special tool 61 1 136 or 61 1 137 (ejector).

Fig 3: Removing Cable From Relay Carrier
G03125220Courtesy of BMW OF NORTH AMERICA, INC.