lemon-mirror:
Home >> BMW >> 2002 >> 330i Automatic >> Repair and Diagnosis >> Electrical >> Charging Systems >> General Electrical System - Repair >> Plug Connection Time >> 61 13... Relay carrier

61 13... Relay carrier

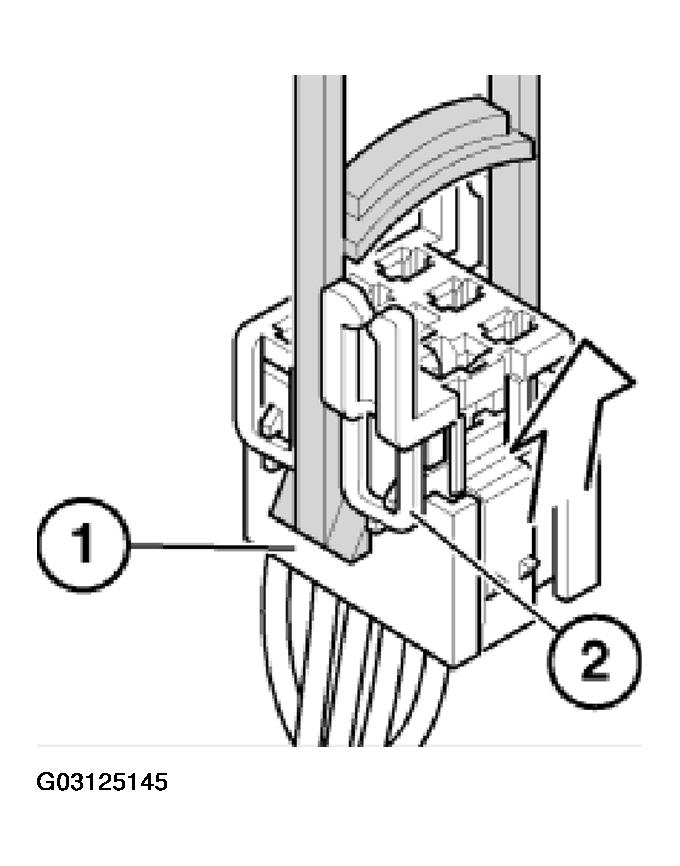
Place special tool 61 1 153 on relay carrier (1) and carefully pull in direction of arrow until retaining lugs (2) on relay carrier are raised.

Fig 1: Pulling Relay Carrier
G03125145Courtesy of BMW OF NORTH AMERICA, INC.

Pull relay carrier (2) in direction of arrow into first catch (3).

Fig 2: Pulling Relay Carrier Into First Catch
G03125146Courtesy of BMW OF NORTH AMERICA, INC.

Press down arrester hook (4) of appropriate contact and pull out cable with contact.

Press out double flat spring contact with special tool 61 1 136 or 61 1 137 (ejector).

Fig 3: Removing Cable
G03125147Courtesy of BMW OF NORTH AMERICA, INC.