lemon-mirror:
Home >> BMW >> 2002 >> 745Li >> Repair and Diagnosis >> Body & Frame >> Door Locks >> DRIVEAWAY Protection - Overview >> Driveaway Protection System (DWA) >> System Overview

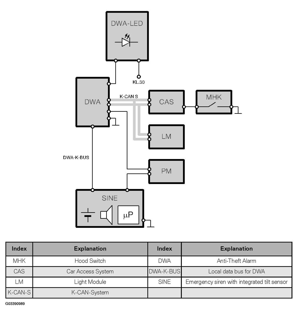
System Overview

Fig 1: System Overview Schematic
G03390989Courtesy of BMW OF NORTH AMERICA, INC.

The DWA control unit with integrated interior sensor (1) is located in the rear lights roof console housing in the center of the headliner. This central location allows the entire vehicle interior to be monitored very effectively.

The emergency siren with integrated tilt sensor (2) is installed in the left rear wheel arch where good protection is provided against tampering with the emergency siren or DWA K-Bus.

Fig 2: Identifying Interior Sensor (1) And Tilt Sensor (2)
G03390990Courtesy of BMW OF NORTH AMERICA, INC.