lemon-mirror:
Home >> BMW >> 2002 >> M3 2D Convertible >> Repair and Diagnosis >> Engine Performance >> System >> Engine Control - Overview - M3 >> Ms S54 >> Fuel Management >> Notes

Fuel Management: Notes

Fig 1: Identifying Fuel Management System
G03394668Courtesy of BMW OF NORTH AMERICA, INC.

Fuel Tank:  The fuel tank is made of high density polyethylene (reduced weight) which is manufactured to meet safety requirements.

The baffling has been modified for the E46 M3 fuel pump pickup in the right hand side of the fuel tank to maintain fuel supply during aggressive cornering.

A "saddle" type tank is used which provides a tunnel for the driveshaft but creates two separate low spots in the tank.

A Siphon jet is required with this type of tank to transfer fuel from the left side, linked to the fuel return line.

As fuel moves through the return, the siphon jet creates a low pressure (suction) to pick up fuel from the left side of the tank and transfer it to the right side at the fuel pick up.

Fig 2: Identifying Fuel Tank
G03394669Courtesy of BMW OF NORTH AMERICA, INC.

Fuel Pump:  The electric fuel pump supplies constant fuel volume to the injection system. This system uses a single submersible (in the fuel tank) high volume pump. The inlet is protected by a mesh screen.

When the fuel pump is powered, the armature will rotate the impeller disc creating low pressure at the inlet. The fuel will be drawn into the inlet and passed through the fuel pump housing (around the armature). The fuel lubricates and cools the internals of the pump motor.

Fig 3: Identifying Fuel Pump
G03394670Courtesy of BMW OF NORTH AMERICA, INC.

The fuel will exit through a non-return check valve to supply the injection system. The non-return check valve is opened by fuel exiting the pump and will close when the pump is deactivated. This maintains a "prime" of fuel in the filter, lines, hoses and fuel rail.

The pump contains an internal overpressure relief valve that will open (reducing roller cell pressure) if there is a restriction in the fuel supply hardware.

Fuel Supply:  The fuel is supplied through a Non Return Fuel Rail System. This system is used on the S54 for LEV compliancy.

The fuel supply pressure is controlled by the 5 Bar fuel pressure regulator integrated in the fuel filter assembly. The regulator is influenced by engine vacuum via a hose connected to the idle air distribution pipe. The fuel exits the fuel pressure regulator supplying the fuel rail and the injectors. The fuel filter assembly is located under the left front floor area (next to the frame rail).

Fig 4: Locating Fuel Pressure Test Point
G03394671Courtesy of BMW OF NORTH AMERICA, INC.

The fuel return line is located on the filter/regulator assembly which directs the unused fuel back to the fuel tank. The fuel tank hydrocarbons are reduced by returning the fuel from this point instead of from the fuel rail.

Fig 5: Identifying Fuel Return Line And Injectors
G03394672Courtesy of BMW OF NORTH AMERICA, INC.

Fuel Pressure Regulator:  The Fuel Pressure Regulator maintains a constant "pressure differential" for the fuel injectors.

The fuel pressure is set to 5.0 Bar (+/- 0.2) by internal spring tension on the restriction valve.

The vacuum chamber is sealed off by a diaphragm which is connected by a hose to the idle air distribution pipe (vacuum). Intake manifold vacuum regulates the fuel pressure by assisting to compress the spring (lowering fuel pressure).

When the restriction valve opens, unused fuel returns back to the fuel tank.

Fig 6: Identifying Fuel Pressure Regulator
G03394673Courtesy of BMW OF NORTH AMERICA, INC.

Examples of "pressure differential" are:

Fig 8: Identifying Differential (Fuel Flow Through) For Fuel Injectors
G03394675Courtesy of BMW OF NORTH AMERICA, INC.

By maintaining constant Fuel Pressure Differential through vacuum sensing (engine load), the ECM can then regulate volume and mixture by the length of time the injectors are open (duration).

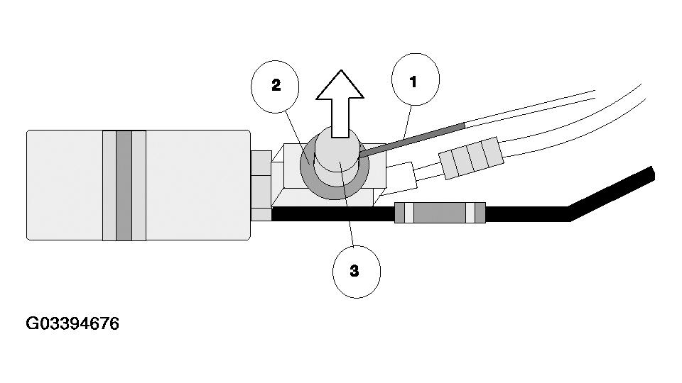
The Fuel Pressure Regulator is mounted on the fuel filter assembly.

  1. Vacuum Hose 
  2. Retaining Ring 
  3. 5 Bar Fuel Pressure Regulator 
Fig 9: Identifying Vacuum Hose, Retaining Ring And Bar Fuel Pressure Regulator
G03394676Courtesy of BMW OF NORTH AMERICA, INC.

Bosch Fuel Injectors (4 Hole Plate Type):  The Fuel Injectors are electronically controlled solenoid valves that provide precisely metered and atomized fuel into the engine intake ports. The Fuel Injector Valve consists of:

  1. Fuel Strainer 
  2. Electronic Connector 
  3. Solenoid Winding 
  4. Closing Spring 
  5. Plate Valve 
  6. Outlet Orifice 
  7. 4 Hole Channeling 

Fuel is supplied from the fuel rail to the injector body. The fuel is channeled through the injector body to the plate valve and seat.

Without electrical current, the plate valve is sprung closed against the seat.

The Fuel Injectors receive voltage from the Fuel Injector Relay. The ECM activates current flow through the injector solenoid creating a magnetic field that pulls the plate valve "up" off of its seat.

Fig 10: Identifying Bosch Fuel Injectors (4 Hole Plate Type)
G03394677Courtesy of BMW OF NORTH AMERICA, INC.

The pressurized fuel flows through the outlet orifice into the channeling. The channel "fans out" the fuel spray into four angled spray patterns which helps to atomize the fuel.

When the ECM deactivates current flow, the plate valve is sprung closed against the seat and fuel flow through the injector is stopped.

The length of time that the ECM activates the injectors is very brief, the duration is in milli-seconds (ms). This affects the mount of fuel volume flowing through the Fuel Injectors. The ECM will vary the length of time (ms) to regulate the air/fuel ratio (mixture).

Fig 11: Identifying Fuel Injectors
G03394678Courtesy of BMW OF NORTH AMERICA, INC.

The Fuel Injectors are mounted in rubber "o rings" between the fuel rail and the intake manifold to insulate them from heat and vibration.

This insulation also reduces the injector noise from being transmitted through the engine compartment.

The Fuel Injectors are held to the fuel rail by securing clips (arrow).

Fig 12: Identifying Fuel Injectors Mounted On Rubber "O" Ring
G03394679Courtesy of BMW OF NORTH AMERICA, INC.

If a Fuel Injector is faulty (mechanical/electrical), it can produce the following complaints:

  1. "Engine EMISSION" Light 
  2. Long Crank Time (Leaking) 
  3. Oxygen Sensor/Mixture/Injector Related Fault Codes 
  4. Excessive Tailpipe Smoke (leaking) 
  5. Misfire/Rough Idle (leaking/blocked) 
  6. Engine Hydrolock (leaking) 

Crankshaft Position/RPM Sensor:  This sensor provides the crankshaft position and engine speed (RPM) signal to the ECM for Fuel Pump and Injector operation. This is an inductive pulse type sensor mounted on the left side at the rear of the engine block. The impulse wheel is mounted on the crankshaft inside the crankcase, at the rear main bearing support. The impulse wheel contains 58 teeth with a gap of two missing teeth. The ECM provides the power supply to this component.

The rotation of the impulse wheel generates an A/C voltage signal in the sensor where-by each tooth of the wheel produces one pulse. The ECM counts the pulses and determines engine RPM.

The gap of two missing teeth provides a reference point that the ECM recognizes as crankshaft position.

The crankshaft position sensor is monitored as part of OBD II requirements for Misfire Detection.

Fig 13: Identifying Crankshaft Position/RPM Sensor
G03394680Courtesy of BMW OF NORTH AMERICA, INC.

Camshaft Position Sensors (Hall Effect):  The ECM uses the signal from the camshaft sensors to set up the triggering of the ignition coils, correct timing of fully sequential fuel injection, and VANOS operation. The ECM Relay supplies voltage to the Hall elements and the ECM supplies the ground. The power flow through the Hall elements is the basis for the sensor output to the ECM.

As the camshaft rotates, the leading edge of the impulse wheel approaches the sensor tip creating a magnetic field with the permanent magnet in the sensor.

The attraction causes the magnetic field to penetrate through the Hall element. The magnetic field affects the power flow in the element causing the input signal to go high. As the impulse wheel passes by the sensor, the signal goes low.

Fig 14: Identifying Camshaft Position Sensors (Hall Effect)
G03394681Courtesy of BMW OF NORTH AMERICA, INC.

The repetitive high/low creates a square wave signal that the ECM uses to recognize the camshaft position.

The "active" Hall sensors supply a signal representative of camshaft position even before the engine is running. The ECM determines an approximate location of the camshaft position (high or low signal) prior to engine start up optimizing cold start injection (reduced emissions).

Fig 15: Identifying Exhaust Wheel And Intake Wheel
G03394682Courtesy of BMW OF NORTH AMERICA, INC.

An impulse wheel is mounted on the end of each camshaft for position detection. The intake camshaft impulse wheel has 6 lugs and the exhaust camshaft impulse wheel has 7 lugs. The sensors are mounted on each side at the back of the cylinder head.

If the ECM detects a fault with this type of sensor, the "ENGINE EMISSION" Light will be illuminated and the system will maintain engine operation based on the Crankshaft Position/RPM Sensor. Torque reduction will be noticed due to "default" VANOS position.

Fig 16: Identifying Crankshaft Position/RPM Sensor
G03394683Courtesy of BMW OF NORTH AMERICA, INC.

Engine Coolant Temperature:  The Engine Coolant Temperature is provided to the ECM from a Negative Temperature Coefficient (NTC) type sensor. The ECM determines the correct fuel mixture and base ignition timing required for the engine temperature.

The dual sensor (ECM/Temp Gage) is located in the coolant return pipe (arrow).

The sensor decreases in resistance as the temperature rises and vice versa. The ECM monitors an applied voltage to the sensor (5v). This voltage will vary (0-5v) as coolant temperature changes the resistance value.

If the Coolant Temperature Sensor input is faulty, the "ENGINE EMISSION" Light will be illuminated and the ECM will use the oil temperature sensor as an alternate.

Fig 17: Identifying Engine Coolant Temperature Sensor
G03394684Courtesy of BMW OF NORTH AMERICA, INC.

Accelerator Pedal Position (PWG): 

As the accelerator pedal is actuated, the ECM will increase the volume of fuel injected into the engine. As the accelerator pedal is released, the ECM activates fuel shut off if the RPM is above idle speed (coasting).

For details about the sensor, refer to the AIR MANAGEMENT  section.

Fig 18: Identifying Accelerator Pedal Position (PWG)
G03394685Courtesy of BMW OF NORTH AMERICA, INC.

Hot-Film Air Mass Meter (HFM):  The air volume input signal is used by the ECM to determine the amount of fuel to be injected for correct air/fuel ratio.

For details about the sensor, refer to the AIR MANAGEMENT  section.

Fig 19: Identifying Hot-Film Air Mass Meter (HFM)
G03394686Courtesy of BMW OF NORTH AMERICA, INC.

Air Temperature:  This signal allows the ECM to make a calculation of air density. For details about the sensor, refer to the AIR MANAGEMENT  section.

The varying voltage input from the NTC sensor indicates the larger proportion of oxygen found in cold air, as compared to less oxygen found in warmer air. The ECM will adjust the amount of injected fuel because the quality of combustion depends on oxygen sensing ratio.

If a fault is present in this circuit, the ECM will operate on a substitute value.