lemon-mirror:
Home >> BMW >> 2002 >> M5 >> Repair and Diagnosis >> Electrical >> Body Electrical >> Electric Signals - Overview >> Electronic Signals >> Designated Value Signals >> Notes

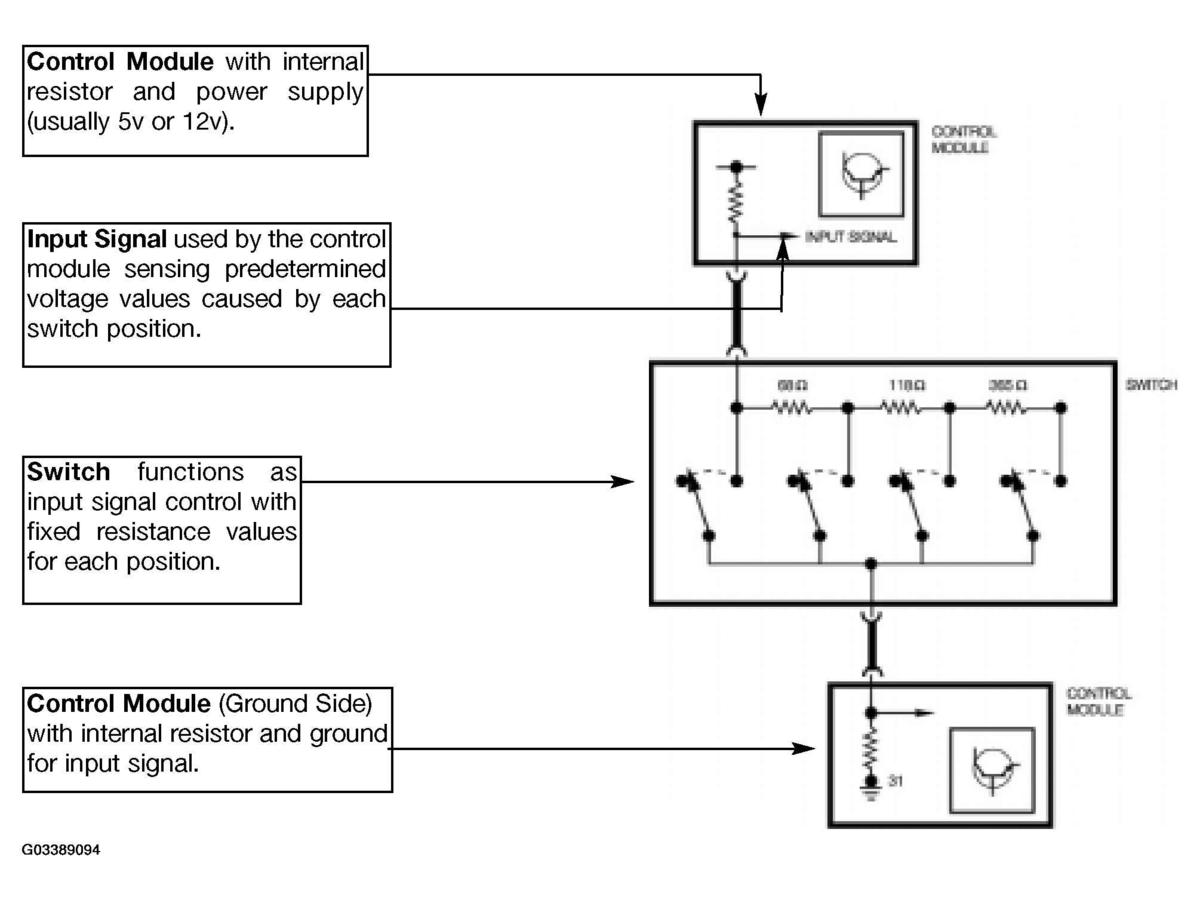
Designated Value Signals: Notes

Designated values are produced through fixed resistance positions of a multi-position switch. As the switch is operated the voltage drop across the resistor(s) of each switch position causes the voltage level of the input signal to change to a predetermined voltage value.

These predetermined (designated) voltages signal the control module to perform specific functions.

Fig 1: Identifying Designated Value Signals
G03389094Courtesy of BMW OF NORTH AMERICA, INC.

Voltage Values  seen as input by control module.

Fig 2: Voltage Values Display
G03389095Courtesy of BMW OF NORTH AMERICA, INC.

Typical Application of Designated Values: