lemon-mirror:
Home >> BMW >> 2002 >> M5 >> Repair and Diagnosis >> Electrical >> Body Electrical >> Electric Signals - Overview >> Electronic Signals >> Transistor Function >> Notes

Transistor Function: Notes

The transistor takes on a number of applications that must be understood to effectively analyze a circuit.

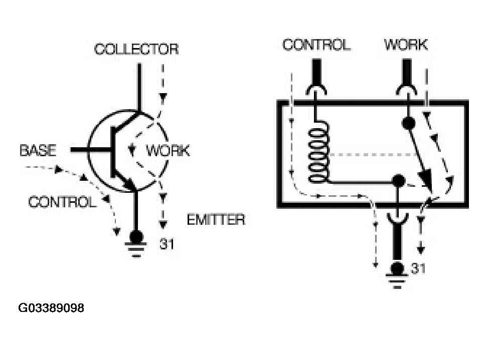
The transistor in operation functions as two parts much like a relay. Both the relay and the transistor control high currents with a low current signal.

Fig 1: Identifying Transistor Final Stage Function (1 Of 2)
G03389098Courtesy of BMW OF NORTH AMERICA, INC.

The base/emitter path functions as the control circuit activated by the control module to oversee or control the work.

The collector/emitter path functions as the work side of the circuit, supplying power or switching on the work.

In operation the transistor can be switched ON momentarily, or supply a constant power or ground.

The transistor can also be modulated or pulsed to supply a modulated square wave signal.

Fig 2: Identifying Transistor Final Stage Function (2 Of 2)
G03389099Courtesy of BMW OF NORTH AMERICA, INC.