lemon-mirror:
Home >> BMW >> 2002 >> X5 46i >> Repair and Diagnosis >> General Information >> OEM General Information >> Model Update - Overview >> X5 Update >> System Components >> Notes

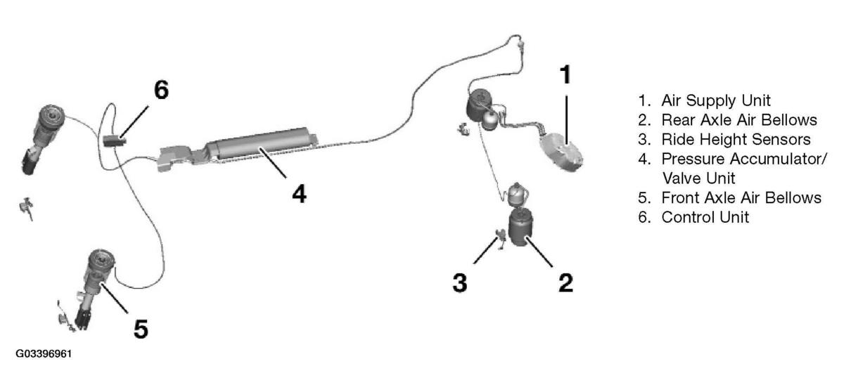
System Components: Notes

The X5 Two Axle Air Suspension System (EHC2) utilizes the air supply unit from EHC mounted in the luggage compartment, with the following components added or modified: