lemon-mirror:
Home >> BMW >> 2003 >> 760Li >> Repair and Diagnosis >> Electrical >> Charging Systems >> General Electrical System - Repair >> 13 Plug Connection, Terminals, Fuse Box >> 61 13... Repairing Ribbon Cables

61 13... Repairing Ribbon Cables

NOTE:

For Special Tool identification, see Special tools required: .

Special Tools Required: 

Place ribbon cables (1) in connector housing (2) and close cover (3).

Fig 1: Ribbon Cables, Connector Housing And Cover
G03293803Courtesy of BMW OF NORTH AMERICA, INC.

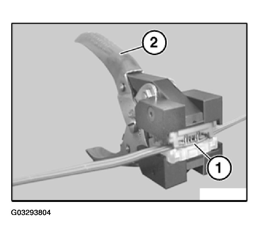
Place connector housing (1) in pliers (2) 61 1 190.

Close pliers (2).

Fig 2: Connector Housing And Special Tool (61 1 190)
G03293804Courtesy of BMW OF NORTH AMERICA, INC.