lemon-mirror:
Home >> BMW >> 2004 >> 545i Automatic >> Repair and Diagnosis >> Electrical >> Charging Systems >> General Electrical System - Repair >> Plug Connection, Terminals, Fuse Box >> 61 13 ... Relay carrier

61 13 ... Relay carrier

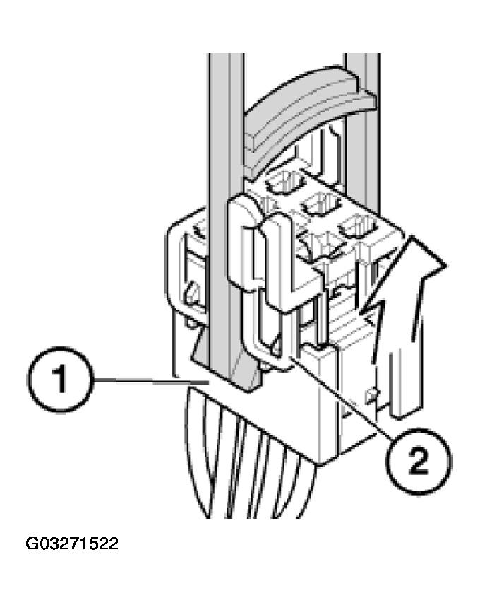
Place special tool 61 1 153 on relay carrier (1) and carefully pull in direction of arrow until retaining lugs (2) on relay carrier are raised.

Fig 1: Identifying Relay Carrier And Retaining Lugs
G03271522Courtesy of BMW OF NORTH AMERICA, INC.

Pull relay carrier (2) in direction of arrow into first catch (3).

Fig 2: View Of Relay Carrier Catch
G03271523Courtesy of BMW OF NORTH AMERICA, INC.

Press down arrester hook (4) of appropriate contact and pull out cable with contact.

Press out double flat spring contact with special tool 61 1 136 or 61 1 137 (ejector).

Fig 3: Locating Arrester Hook
G03271524Courtesy of BMW OF NORTH AMERICA, INC.