lemon-mirror:
Home >> BMW >> 2006 >> M5 >> Repair and Diagnosis >> Electrical >> Charging Systems >> General Electrical System - Repair >> Plug Connection Terminal >> 61 13... Relay carrier

61 13... Relay carrier

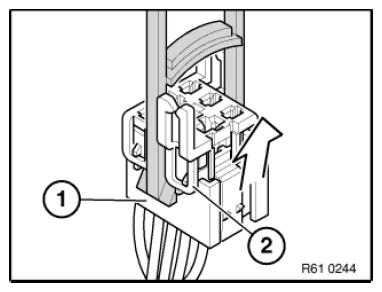
Place special tool 61 1 153 against relay carrier (1) and carefully pull in direction of arrow until the locking tabs (2) of the relay carrier are raised up.

Fig 1: Pulling Special Tool (61 1 153)
G08573820Courtesy of BMW OF NORTH AMERICA, INC.

Pull relay carrier (2) in direction of arrow into the first catch (3).

Fig 2: Pulling Relay Carrier
G08573821Courtesy of BMW OF NORTH AMERICA, INC.

Press down arrester hook (4) of corresponding contact and pull out the cable with contact.

With special tool 61 1 136 or 61 1 137 (press out) press out dual spring contacts.

Fig 3: Pressing Out Dual Spring Contacts Using Special Tool (61 1 136) Or (61 1 137)
G08573822Courtesy of BMW OF NORTH AMERICA, INC.